EasyManua.ls Logo

Sansui VHF6010 - Basic Connections - VCR to TV Setup; Connecting VCR Output to TV

Sansui VHF6010
51 pages
Print Icon
To Next Page IconTo Next Page
To Next Page IconTo Next Page
To Previous Page IconTo Previous Page
To Previous Page IconTo Previous Page
Loading...
16
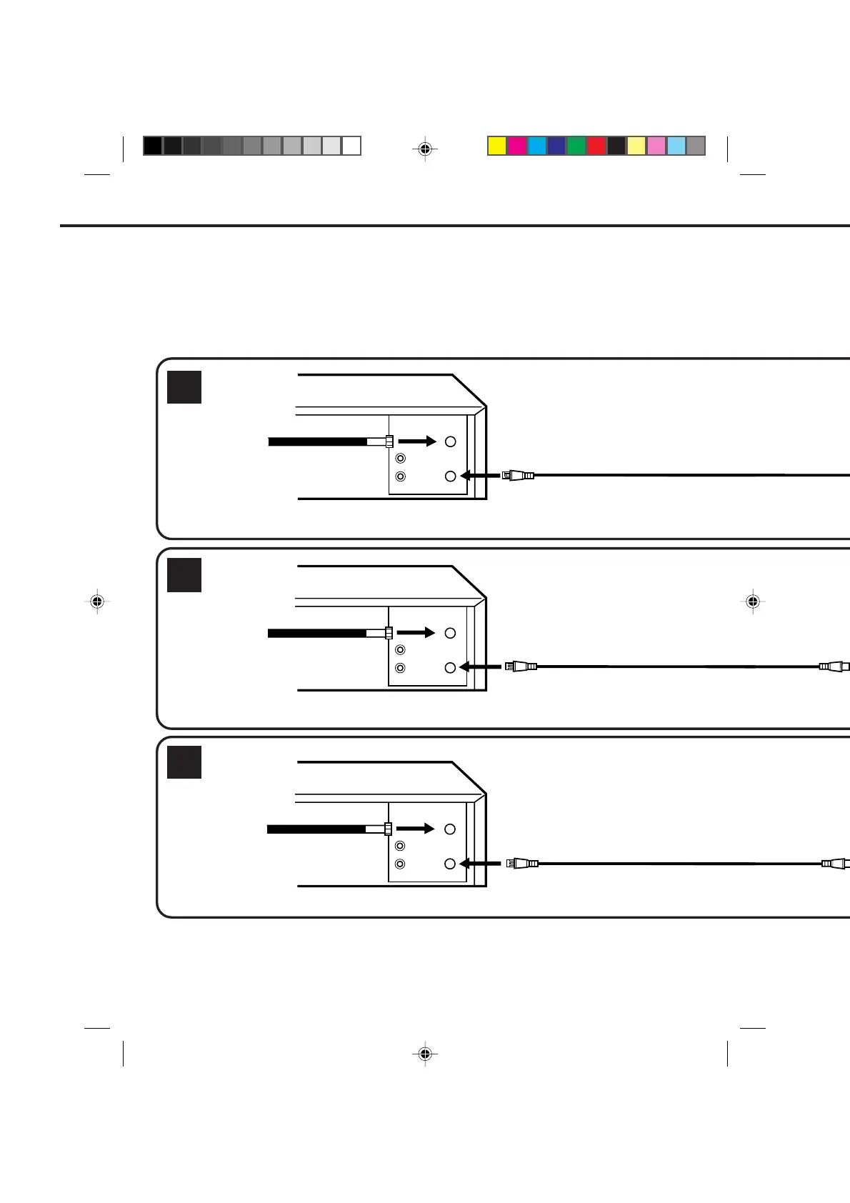
VCR TO TV CONNECTION
After you have connected the antenna to the VCR (see pages 14 & 15), you must connect the VCR to the TV.
Below are 3 common methods of connecting your VCR to a TV. Find the type of TV you are using and follow
the connection diagram.
2
3
VCR
VCR
VCR
BASIC CONNECTIONS (CONTINUED)
75 ohm Coaxial Cable (supplied)
75 ohm Coaxial Cable (supplied)
75 ohm Coaxial Cable (supplied)
1
OUT
IN
OUT
IN
OUT
IN
4C94001A/E/P10-19 08*12*99, 11:4216

Related product manuals