EasyManua.ls Logo

Seca 664 - Ustawianie Funkcji Filtrowania (Fil); Zmiana Jednostek Wagi (Unit)

Seca 664
Print Icon
To Next Page IconTo Next Page
To Next Page IconTo Next Page
To Previous Page IconTo Previous Page
To Previous Page IconTo Previous Page
Loading...
Obsługa • 347
Polski
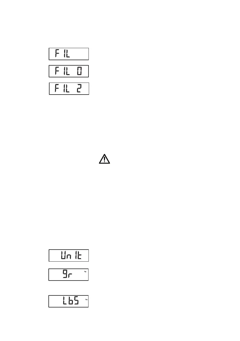
Ustawianie funkcji
filtrowania (Fil)
Dzięki funkcji filtrowania (Fil = filtr) można zmniejszyć
wpływ zakłóceń mechanicznych (spowodowanych np.
przez poruszenie się pacjenta) na pomiar.
1. Wybrać w menu punkt „Fil”.
2. Potwierdzić wybór.
Aktualne ustawienie pojawia się na wyświetlaczu.
3. Wybrać stopień filtrowania.
0: brak filtrowania
1: średni stopień filtrowania
2: wysoki stopień filtrowania
4. Potwierdzić wybór.
Menu zostaje automatycznie zamknięte.
Zmiana jednostek wagi
(Unit)
W wagach nielegalizowanych można wybierać
jednostkę (Unit), w której wyświetlana będzie masa
ciała.
ZACHOWAJ OSTROŻNOŚĆ!
Zagrożenie pacjenta
W celu wykluczenia błędnych interpretacji
wyniki pomiarów dokonywanych do celów
medycznych mogą być wyświetlane i wykorzy-
stywane tylko przy użyciu jednostek SI. Niektóre
urządzenia umożliwiają wyświetlanie wyników
w innych jednostkach. Jest to wyłącznie funkcja
dodatkowa.
Wyniki pomiarów należy interpretować tylko
w jednostkach SI.
Wykorzystywanie wyników pomiarów
w jednostkach innych niż jednostki SI ma
miejsce wyłącznie na odpowiedzialność
użytkownika.
1. Wybrać w menu punkt „Unit”.
2. Potwierdzić wybór.
Aktualne ustawienie pojawia się na wyświetlaczu.
Wybrać jednostkę, w której ma być wyświetlana
masa ciała:
9r: kilogramy (kg)
LbS: funty (lbs)
StS: stones (sts)
3. Potwierdzić wybór.
Menu zostaje automatycznie zamknięte.

Table of Contents

Other manuals for Seca 664

Related product manuals