EasyManua.ls Logo

Seca 7031321007 - Baseframe Parts Replacement; Load Cell Replacement

Seca 7031321007
55 pages
Print Icon
To Next Page IconTo Next Page
To Next Page IconTo Next Page
To Previous Page IconTo Previous Page
To Previous Page IconTo Previous Page
Loading...
Replacement instructions
seca 703
05.10.12 /MRE 4 30-34-00-849_E
1 Baseframe
Please be sure to observe the sequence listed below when removing/fitting the parts!
1.1 Replacing the load cell
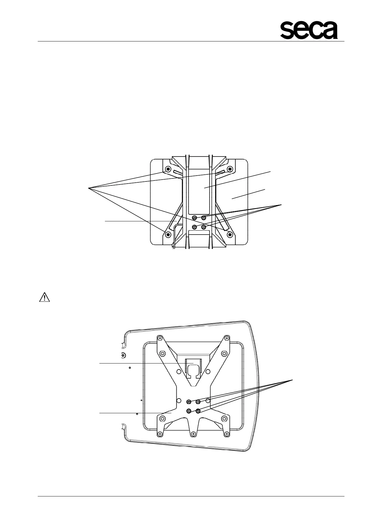
Place the scale on the side and detach the load cell cable connector.
Unscrew the 4 cheese head screws (I) which secure the load cell (O, Fig. 3) to the
frame (K).
Unscrew the 4 screw connections (L) on the platform hood (P) and turn round the
cross beam for the platform (M) with the load cell (O, Fig. 3).
Figure 1: Replacing the load cell
Unscrew the 4 cheese head screws (N) on the cross beam for the platform (M) from
the load cell (O).
When assembling the load cells (O) the four cheese head screws (N/ I) must be
tightened to Mt = 12.5 Nm!
Figure 2: Replacing the load cell
N
M
O
L
I
K
M
P

Table of Contents

Related product manuals