EasyManua.ls Logo

Selco Genesis 282-352 TLE - 4 Presentasjon Av Sveisemaskinen; Kontrollpanel Foran FP 126

Selco Genesis 282-352 TLE
Print Icon
To Next Page IconTo Next Page
To Next Page IconTo Next Page
To Previous Page IconTo Previous Page
To Previous Page IconTo Previous Page
Loading...
4.0 PRESENTASJON AV SVEISEMASKINEN
Disse generatorene med statisk frekvensvender med konstant
strøm er i stand til å utføre følgende sveiseinngrep på en aldeles
utmerket måte:
- MMA [Metal Manual Arc Welding] (se 9.1);
- TIG [Tungsten lnert Gas] (med reduksjon av strømmen ved
kortslutning, se 9.2)
I sveisemaskinene med statisk frekvensvender påvirkes ikke
utgangsstrømmen/sveisestrømmen av variasjonene i spenningen
og lysbuelengden og den er uten krusninger og gir dermed beste
sveisekvalitet.
På generatoren finnes det:
- en positiv kontakt (+) og en negativ kontakt (-).
- et frontpanel.
- et bakre styringspanel.
Modellene Genesis 282-352 TLE er dessuten utstyrt med føl-
gende deler:
- uttak for kopling av kablene på sveisebrennerens trykknap
- uttak for sveisebrennerens gassfeste
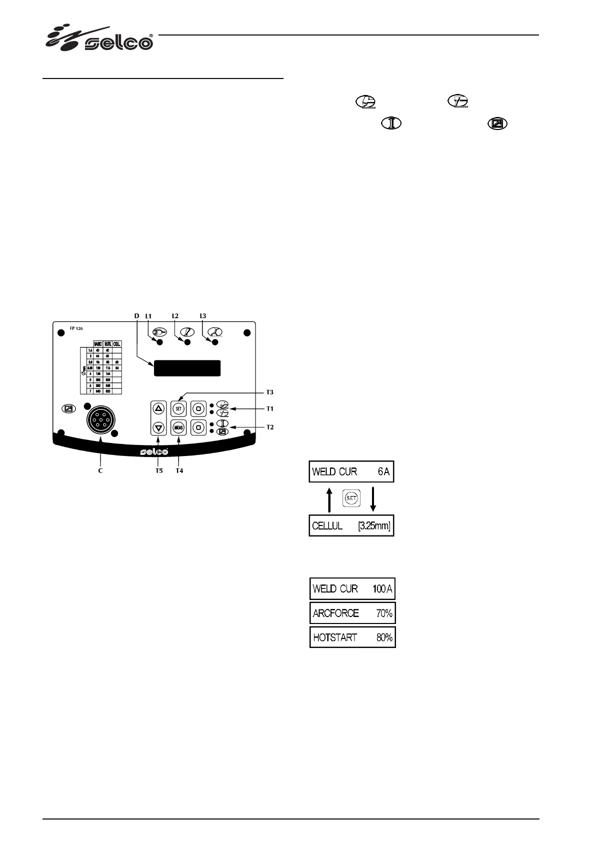
4.1 Kontrollpanel foran FP126 (Figur 1)
for Genesis 282-352 TLE
Figur 1
* L1 : Varsellys - grønn lysemitterende diode for å signalise-
re tilkobling til strøm.
Lyset tennes med bryteren på det bakre panelet (Figur 3) "I1" i
posisjon "I" og viser at anlegget er slått på og at det mottar strøm.
* L2: Gul indikator for beskyttelsesanlegget.
Indikerer aktivering av varmebeskyttelsesanlegget eller det
elektroniske anlegget for beskyttelse mot overspenning (blir
aktivert når nettspenningen er utenfor de grenseverdier som
er oppstillt i kapittel 6.1 og kan være farlig for de innvendige
elektroniske komponentene).
Da "L2" lyser, forblir generatorn koplet til nettet men forsyner
ikke enheten med utgangseffekt og på "D" blir en alarm vist.
"L2" lyser til den innvendige temperaturen eller spenningen
blir normal igjen (i dette fallet må du la generatorn være på
for å benytte ventilatorn som er igang og redusere perioden
av inaktivitet).
For å stille alarmen tilbake på null, skal du trykke på hvilken
trykknap som helst. Hvis alarmen ikke forsvinner fra skjermen
etter nullstillingen i begynnelsen hvil feilet ikke forsvinner.
* L3: Indikator for utgangseffekt.
Indikerer nærvær av utgangsspenning och lyser alltid under
MMA-sveisingsprosedyren, mens i TIG-prosedyren følger den
sveisesyklusen.
* C: Kontakt.
Uttak som blir brukt av alle fjernkontroller for MMA- og TIG-
sveising.
Den blir aktivert ved hjelp av val på tastaturet; hvis den er
aktivert og ingen anlegg er koplet, forblir strømmen på 6A.
* D: Alfanumerisk display med flytende kristaller.
Viser de innstillte sveiseparametrene.
* T1: Trykknap for valg av sveisetype.
TIG-sveising og MMA-sveising .
* T2: Trykknap for valg av kontroll av sveisestrømmen.
Kontroll fra tastatur eller fra fjernkontroll .
* T3: Trykknap for valg eller endring av sveiseparametrene.
I MMA-prosedyren kan du veksle mellom to ulike modus for
innstillingsparametrer (automatisk, med valg av elektrodtype
og relativ diameter; eller manuell).
* T4: Trykknaper for mål.
For å vise målet av strømverdiet og sveisespenningsverdiet.
* T5: Trykknap UP/DOWN.
Trykknapper for å øke eller senke den informasjon som er vist
på skjermen. Under sveising av typen MMA, blir den brukt for
å øke eller minke diametern på den elektrod som du valgt og
for valg av typen av den forinnstillte elektroden.
* Starte maskinen.
Da du starter maskinen, viser displayen informasjon som gjel-
der modellen og den softwareversjon som blitt installert.
Etter noen sekunder, er apparatet operativ i samme tilstand
som den var før du slog den av siste gangen.
Når som helst kan du:
- trykke på trykknap T1 for å aktivere ønsket sveiseprosedyr.
- trykk på trykknap T2 for å stille in sveisestrømmen ved hjelp
av tastaturet eller fjernkontrollen.
* Parametrenes innstilling for MMA-sveising.
Det er mulig å utføre innstilling av MMA-sveising på to ulike
måter:
1) innstilling av type og diameter av elektroden med automa-
tisk telling av sveiseparametrene.
2) Manuell innstilling av sveisestrømmen, Hot Start og Arc
Force.
For å øvergå fra en innstillingsmodus til en annet, skal du
holde trykknap "SET" inntrykkt i omtrent 4 sekunder.
* Manuell innstilling.
Trykk på SET-knappen for å velge sveiseparametrene i rekke-
følge.
Trykk på knappene T5 for å øke eller senke den parameter du
valgt.
* Automatisk innstilling.
Trykk på trykknap SET for å gå fra valg av diametern for valg
av elektrodtypen.
Trykk på knapp T5 for å vise ønsket verdi i det felt du valgt og
som står mellom parentes.
96

Table of Contents

Related product manuals