EasyManua.ls Logo

SenTech STC-CL500E - The Vertical Timings; Normal Full Scanning; Partial Full Scanning

Default Icon
32 pages
Print Icon
To Next Page IconTo Next Page
To Next Page IconTo Next Page
To Previous Page IconTo Previous Page
To Previous Page IconTo Previous Page
Loading...
No.11S031-03
8
STC-CL500E/CLC500E
Users guide Rev. 1.3
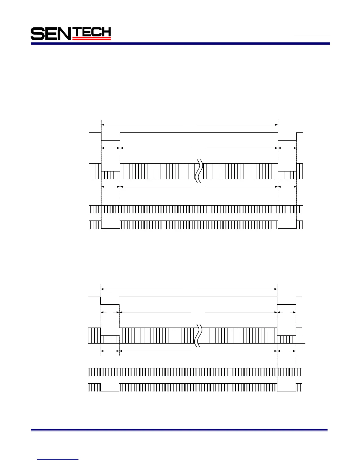
2.1.2 The vertical timings
2.1.2.1 Normal full scanning
(Settings: address: 10H, value: 1XX00XXX; address: 11H, value: XXX0X000)
1 H = 30.375 µseconds, 15.835 Hz
2.1.2.2 Partial full scanning
(Settings: address: 10H, value: 1XX01XXX; address: 11H, value: XXX0X000)
1 H = 30.375 µseconds, 15.935 Hz
Video out
FVAL
2066H
One vertical (1V)
2058H8H
2058H8H
Video output active term
1
2
2057
2058
8H
Vertical
blanking
Vertical
blanking
8H
LVAL
DVAL
Video out
FVAL
2079H
One vertical (1V)
2058H21H
2058H21H
Video output active term
1
2
2057
2058
21H
Vertical
blanking
Vertical
blanking
21H
LVAL
DVAL

Related product manuals