EasyManua.ls Logo

Sharp XE-A137 - No Sale (Drawer Open)

Sharp XE-A137
86 pages
Print Icon
To Next Page IconTo Next Page
To Next Page IconTo Next Page
To Previous Page IconTo Previous Page
To Previous Page IconTo Previous Page
Loading...
39
OPTIONAL FEATURES
1 Auxiliary Entries
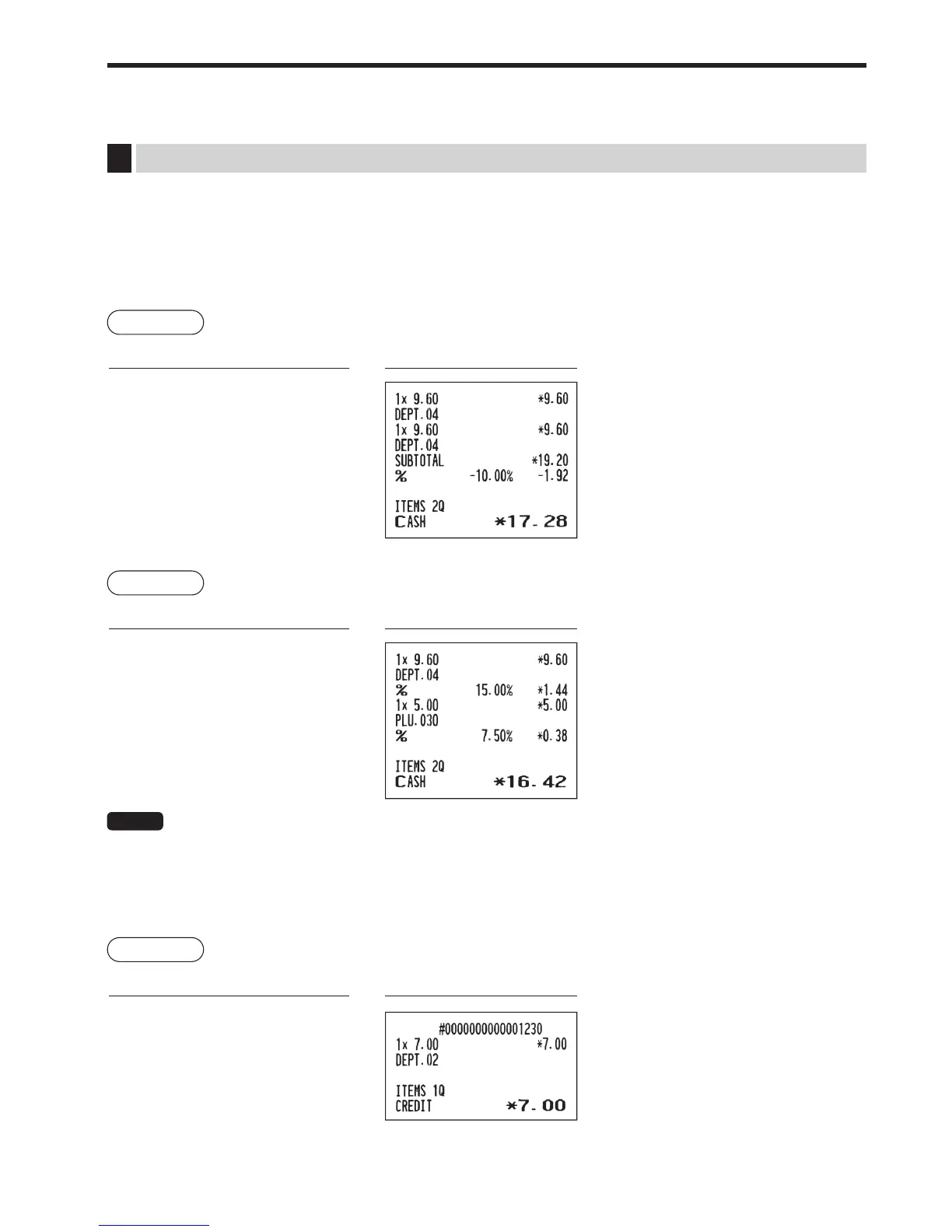
Percent calculations (premium or discount)
• Your register provides percent calculations for a subtotal or each item entry depending on the programming.
• Percentage: 0.01 to 100.00%
Percent calculation for a subtotal
Example
Key operation
Print
$
$
s
%
A
Percent calculation for item entries
Example
Key operation
Print
$
%
30
p
750
%
A
NOTE
Availabilityofitem%and/orsubtotal%dependsontheprogrammingdataofthe
%
keyonpage46.
Printing of non-add code numbers
Enter a non-add code number such as a guest code number within a maximum of 16 digits and press the
s
key at any point during the entry of a sale. The non-add code is printed on the receipt.
Example
Key operation
Print
1230
s
700
"
c
(When a discount
of 10% is
programmed for
the
%
key.)
(When a premium
of 15% is
programmed for
the
%
key.)

Table of Contents

Other manuals for Sharp XE-A137

Related product manuals