EasyManua.ls Logo

Sharp XE-A137 - Register System Modification Details

Sharp XE-A137
86 pages
Print Icon
To Next Page IconTo Next Page
To Next Page IconTo Next Page
To Previous Page IconTo Previous Page
To Previous Page IconTo Previous Page
Loading...
70
EJ REPORT READING AND RESETTING
The cash register provides an electronic journal (EJ) function. This function is intended to record the journal data
in a memory instead of journal paper, and print the data as an EJ report. The register records the journal data in
REG,
, X/Flash, and Z/PGM modes. By default, a maximum of 3000 lines are stored in the memory. For
details of EJ programming, please refer to “Other programming (Job code 68)” on page 58.
Printing journal data on the way of a transaction (temporary EJ printing)
You can print journal data of a current transaction recorded in EJ memory by pressing the
R
key during the
transaction.
NOTE
ThisfunctionisvalidwhenthereceiptON/OFFfunctionissettoOFF.Forchangingthesetting,referto
“AdditionalInformationforBASICSALESENTRY”onpage29.
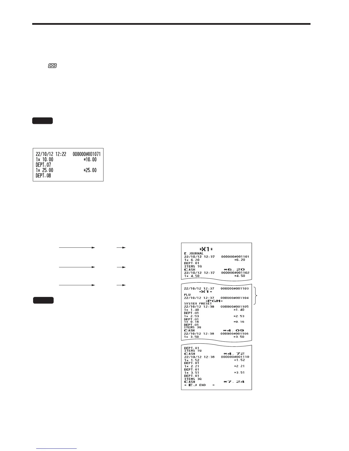
• Sample report
Reading and resetting the electronic journal data (Issuing EJ report)
You can read the journal data stored in the EJ memory in the journal format by executing the following procedure
in the X/Flash or Z/PGM mode.
To reset all of the data: (Z/PGM mode)
A
To read the last 10 records: (X/Flash mode)
To read all of the data: (X/Flash mode)
A@
@
A@
700
700
710
Sample EJ report
Header
information
print
NOTE
•Byprogramming,youcanalsoissueanEJ
Zreportwithoutprintingthejournaldataon
it.Referto“Otherprogramming”(Jobcode
68)onpage58fortheprogramming.
•Tostopreadingorresettingthedata,press
the
E
key.Thedatawillnotbeerased
whenresetting.
•OntheEJmemory,amaximumof3000
linesofdatacanbestored.Whenexecuting
alldatareading,allofthedatastoredinthe
EJmemorywillbeprinted.

Table of Contents

Other manuals for Sharp XE-A137

Related product manuals