EasyManua.ls Logo

Sharp XE-A217W - Guest Check; Guest Look up (GLU) System (for XE-A217 W;XE-A217 B Only)

Sharp XE-A217W
134 pages
Print Icon
To Next Page IconTo Next Page
To Next Page IconTo Next Page
To Previous Page IconTo Previous Page
To Previous Page IconTo Previous Page
Loading...
36
GuestCheck
Guestlookup(GLU)system(forXE-A217W/XE-A217Bonly)
Newguest
Procedure
[Item entries]
(Cash, Check, Credit, Exchange)
*
2
When paid in full.(settlement)
GLU code
(1 to 9999)
For automatic GLU
code generation
[Payment operation]
*
1
ı
˝
©
˝
NOTE
• A clerk must has been registered before starting GLU entry in case the clerk system is selected.
• The GLU code refers to a code that will be used whenever the guest check must be accessed
for re-ordering or nal payment.
• Your register can be programmed GLU codes in a sequential fashion (automatic GLU code
generation). If your register has not been programmed to do so, each GLU code can be entered
manually.
*1 The tax is not calculated.
*2 The tax is calculated and is added to the tax totalizer.
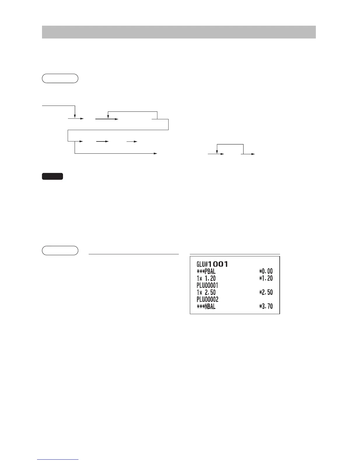
Example
Keyoperation Print
1001
g
¡
N

Table of Contents

Other manuals for Sharp XE-A217W

Related product manuals