EasyManua.ls Logo

SMC Networks LECPA Series - Example Circuit 2(Stop Relay Contact(1)

Default Icon
109 pages
To Next Page IconTo Next Page
To Next Page IconTo Next Page
To Previous Page IconTo Previous Page
To Previous Page IconTo Previous Page
Loading...
- 27 -
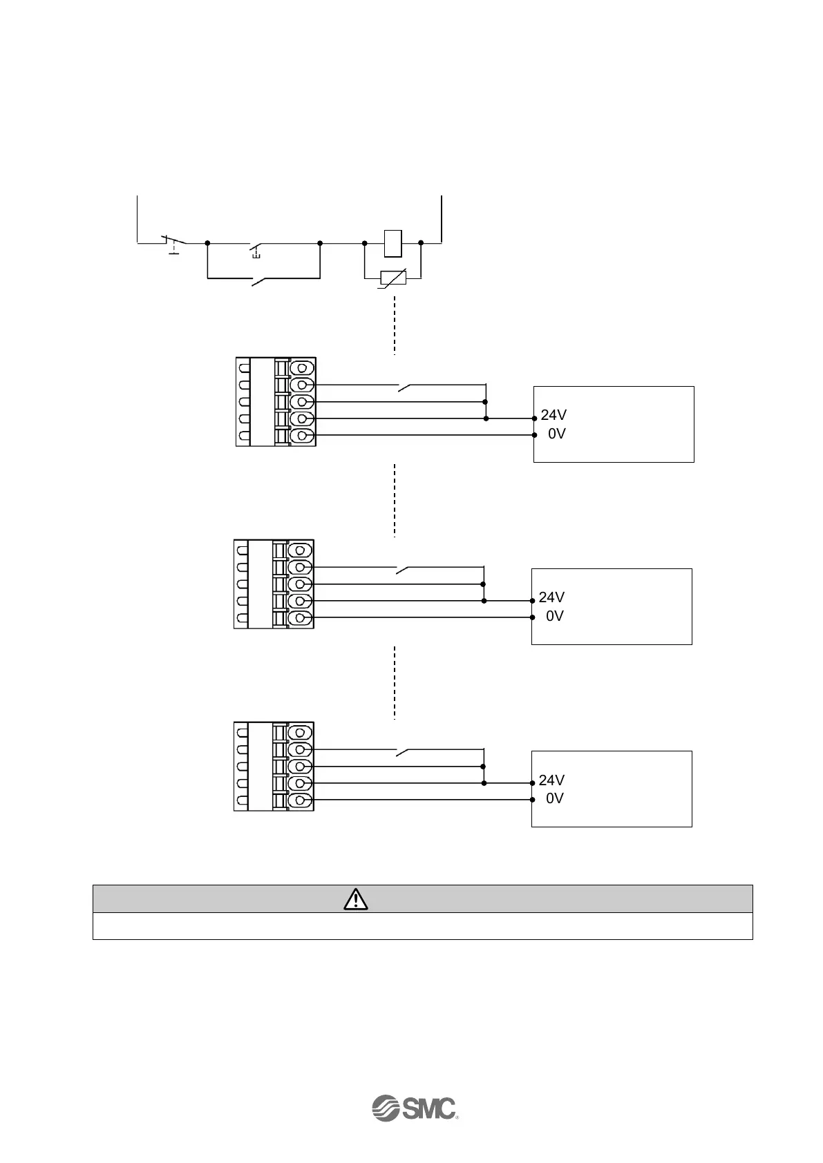
(2) Example circuit 2Stop relay contact(1)
If the system where this driver is installed has a stop circuit for whole system, or if the system has multiple
drivers with individual power supply, relay contacts should be made between the 24 VDC driver power
supply and the EMG terminal of the power supply plug.
(Circuit example: The figure below shows the stopped state.)
Power supply plug
(The 1
st
driver)
Power supply plug
(The 2
nd
driver)
Power supply plug
(The 3
rd
driver)
Caution
When shutdown is input, the driver stops with maximum deceleration, then the motor is turned off.
24 VDC
Ry
0V
stop
switch
Surge suppressor
Reset switch
for stop
Ry U
BK RLS
EMG
C 24V
M 24V
0V
Ry
24V
0V
Driver
Power supply
BK RLS
EMG
C 24V
M 24V
0V
Ry
24V
0V
Driver
Power supply
BK RLS
EMG
C 24V
M 24V
0V
Ry
24V
0V
Driver
Power supply

Table of Contents