EasyManua.ls Logo

Sonel MPI-530-IT - Prospective Short-Circuit Current

Sonel MPI-530-IT
136 pages
Print Icon
To Next Page IconTo Next Page
To Next Page IconTo Next Page
To Previous Page IconTo Previous Page
To Previous Page IconTo Previous Page
Loading...
OPERATING MANUAL MPI-530-IT version 1.06
26
Note:
- Maximum measurement time is about 32 seconds. The measurement can be interrupted by press-
ing ESC push-button.
- In the electrical installations with 30 mA RCD's, the sum of leakage currents of the installation and
the test current may trigger the RCD. If this happens, try to reduce the leakage current in the tested
mains (for example by disconnecting loads).
- Remaining issues connected with the measurements as well as the messages displayed are the
same as those described for measurements L-PE circuit.
- The function works for residual current devices of nominal current ≥ 30 mA.
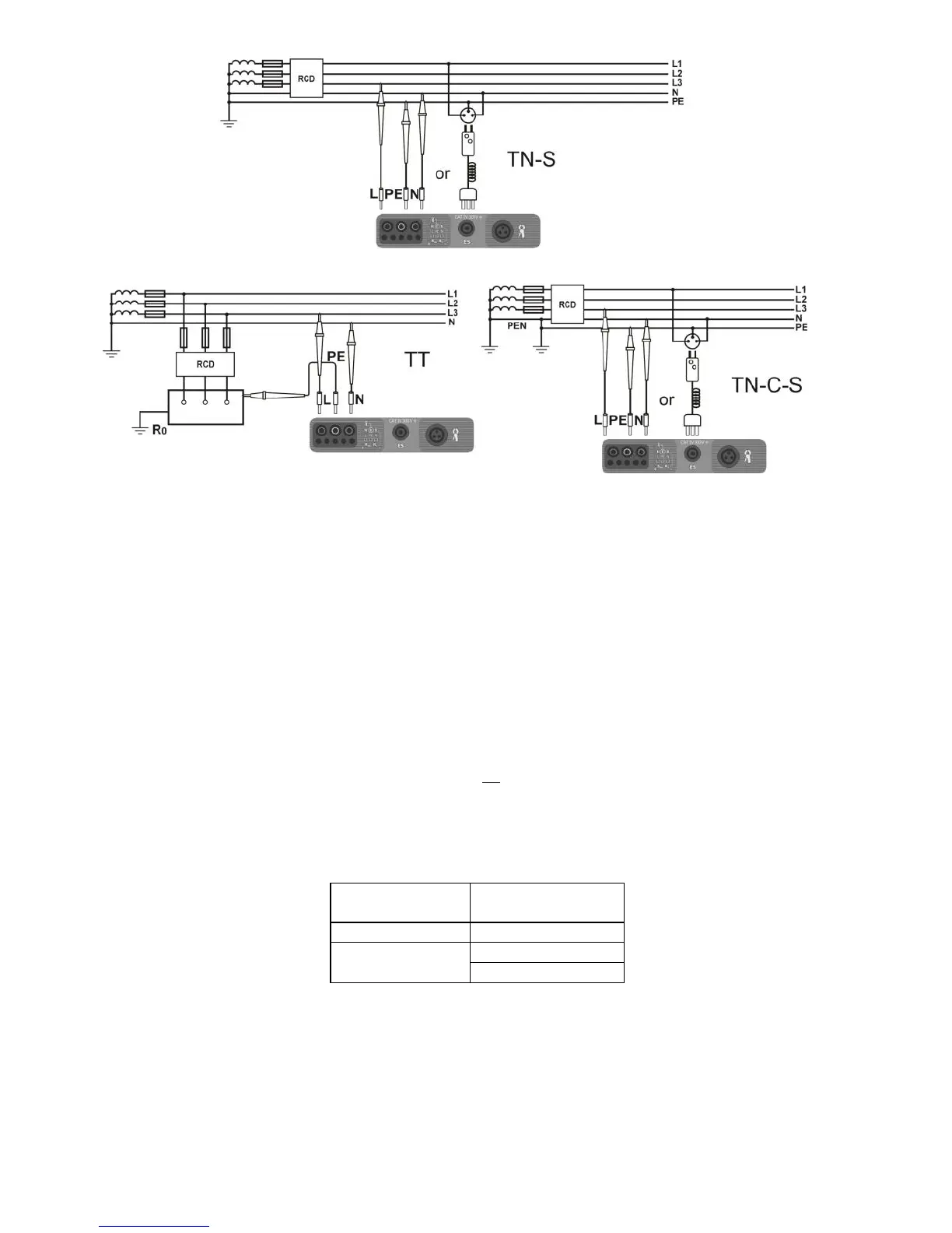
3.4.4 Prospective short-circuit current
The meter always measures impedance Z
S
. The short-circuit current is calculated according to
the following formula:
S
k
Z
U
I
where: Z
S
- measured impedance, U - voltage that depends on settings of I
k
button, according to the
following Table:
The selection in
MENU
I
k
(U
n
)
U = U
n
I
k
(U
0
)
U = U
0
for U
0
< U
n
U = U
n
for U
0
≥ U
n
where: U
n
- nominal voltage of the network, U
0
- the voltage during the measurement.
On the basis of U
n
rated voltage selected (section 2.2.1), the meter automatically recognizes the
measurement at phase-to-neutral or phase-to-phase voltage and takes it into account in the calcula-
tions.
If the voltage of the network being tested is outside the tolerance range, the meter will not be able
to determine a proper rated voltage for the short-circuit current calculation. In such a case, horizontal

Table of Contents

Other manuals for Sonel MPI-530-IT

Related product manuals