EasyManua.ls Logo

Sonniger GUARD - Page 123

Sonniger GUARD
172 pages
Print Icon
To Next Page IconTo Next Page
To Next Page IconTo Next Page
To Previous Page IconTo Previous Page
To Previous Page IconTo Previous Page
Loading...
Технический паспорт и руководство по эксплуатации GUARDv202301
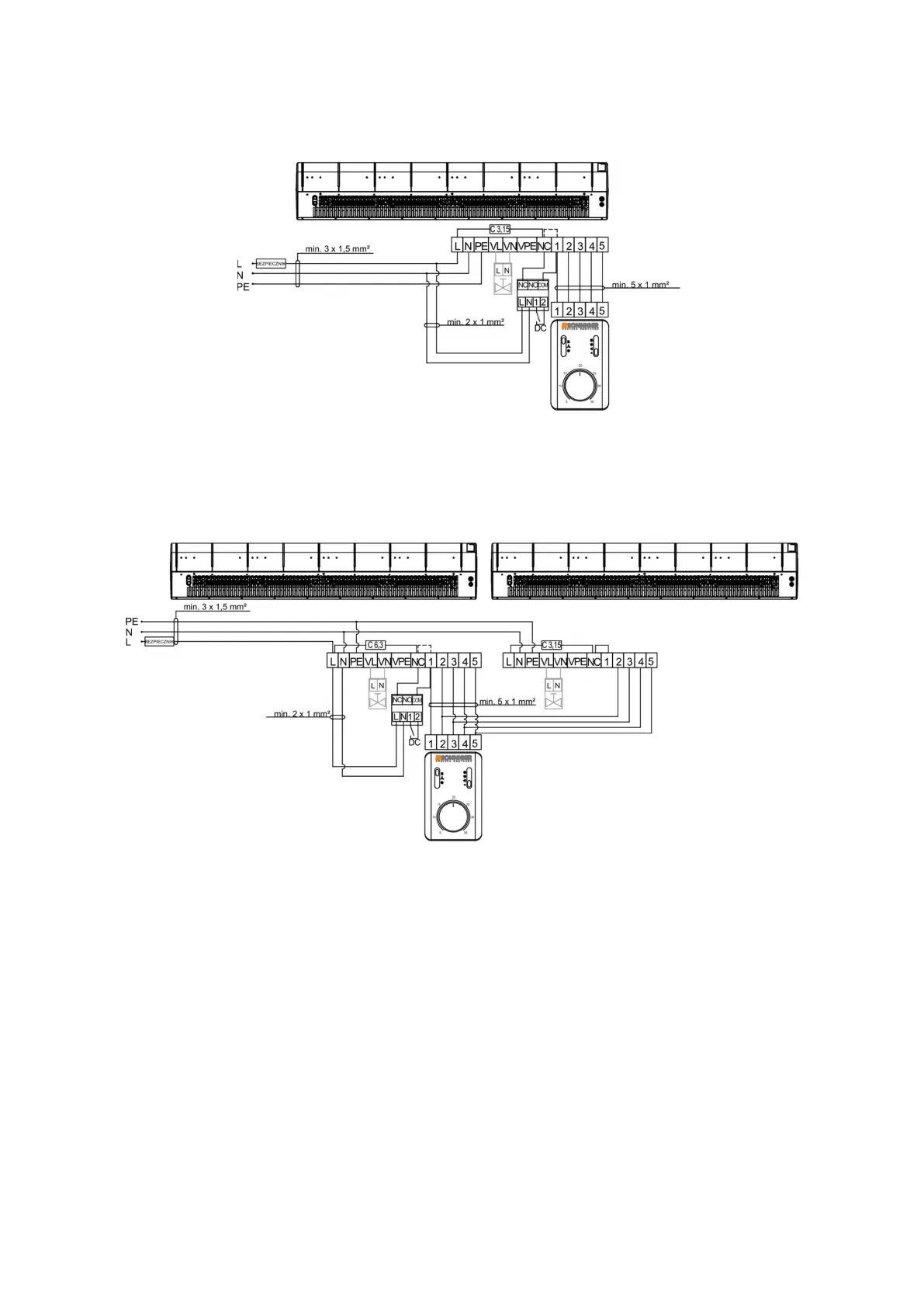
8.1
Схема подключения одной завесы
GUARD 100-150-200 W (
вода
)
и
C (
без нагрева
)
к панели управления
COMFORT
NEW
*
электрические кабели в комплект не входят
В случае работы завес без дверного выключателя перемычку NC-1 следует оставить без смены положения
8.2
Схема подключения двух завес GUARD 100-150-200 W (
вода
)
и
C (
без нагрева
)
к панели управления
COMFORT
NEW
*
электрические кабели в комплект не входят
В случае работы завес без дверного выключателя перемычку NC-1 следует оставить без смены положения
Если к одному контроллеру COMFORT NEW подключены две завесы, необходимо заменить предохранитель в завесе 1 на
С 6,3 и снять перемычку NC-1.