EasyManua.ls Logo

Sony CDP-CE375 - 3 Disassembly

Sony CDP-CE375
40 pages
Print Icon
To Next Page IconTo Next Page
To Next Page IconTo Next Page
To Previous Page IconTo Previous Page
To Previous Page IconTo Previous Page
Loading...
5
CDP-CE275/CE375
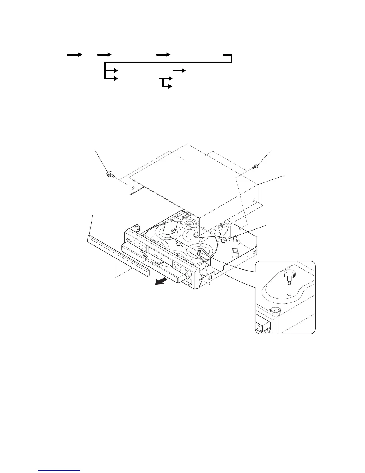
3-1. CASE
Note: Follow the disassembly procedure in the numerical order given.
SECTION 3
DISASSEMBLY
• The equipment can be removed using the following procedure.
Set Case Front Panel Assy
Base Unit (BU-5BD27) Optical Pick-up
Tray, Table Assy
CD Mechanism Block
Sensor Board
Jnuction Board, Loading Motor Board
3
two screws
(BVTP 3x8)
4
case
5
6
2
two screws
(case 3TP2)
1
two screws
(case 3TP2)
7
panel, loading

Other manuals for Sony CDP-CE375

Related product manuals