EasyManua.ls Logo

Sony HVR-A1E - Page 58

Sony HVR-A1E
124 pages
Print Icon
To Next Page IconTo Next Page
To Next Page IconTo Next Page
To Previous Page IconTo Previous Page
To Previous Page IconTo Previous Page
Loading...
58
HVR-A1E/A1P 2-639-668-11(1)
playback picture may be distorted or the time
code may not be continued properly between
the scenes.
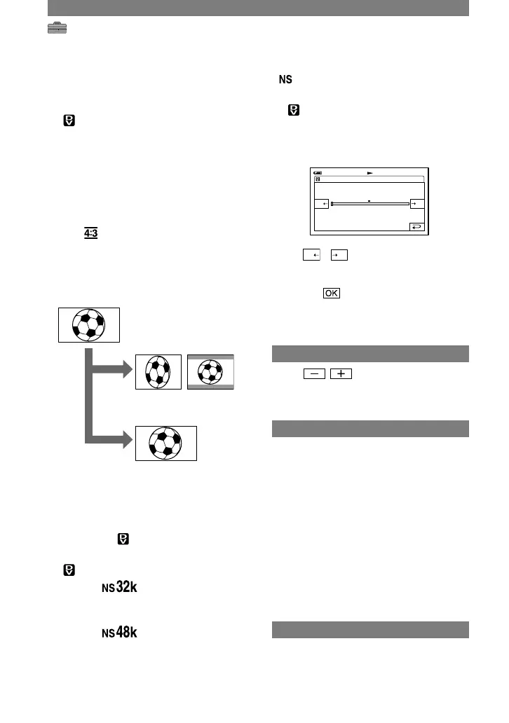
WIDE SELECT
You can select the picture size for the TV to
be connected. Refer also to the instruction
manuals supplied with your TV.
16:9 WIDE
You can record the picture for the full
screen.
4:3 ( )
You can record the picture for the normal
screen.
On the LCD screen or viewfinder when
setting to [16:9 WIDE]
On a 4:3 TV screen*
On a 16:9 wide TV screen
* The playback picture may look different
depending on the TV connected.
A recorded [16:9 WIDE] image played back on
a 4:3 TV has the same width as the original but
is cropped horizontally. For better viewing on
the 4:3 TV, set [ WIDE SELECT] to [4:3] on
your camcorder when recording a picture.
AUDIO MODE
FS32K ( )
Records in the 12-bit mode (4 stereo
sounds).
FS48K (
)
Records in the 16-bit mode (2 stereo
sounds with high quality).
[FS48K] is selected automatically in the HDV
format.
does not appear when the DVCAM standard
is met (p. 104).
AUDIO MIX
You can monitor the sound recorded on
the tape using another device with audio
dubbing during playback.
AUDIO MIX
00 : 00: 00: 00: 0 060 m in
CH1
CH2
CH3
CH4
Touch
CH1
CH2
/
CH3
CH4
to adjust the balance of
the original sound (CH1, CH2) and the
sound recorded afterwards (CH3, CH4),
then touch .
The original sound (CH1, CH2) is output at the
default setting.
VOLUME
Touch / to adjust the volume.
You can also adjust the volume with the
EXPOSURE/VOL lever (p. 27).
AUDIO CH SEL
CH1, CH2
Play back the CH1/CH2 audios from each
channel.
CH1
Play back the CH1 sound in channels 1/2.
CH2
Play back the CH2 sound in channels 1/2.
When you set [AUDIO CH SEL] to [CH1,
CH2] and play back the audios with the
camcorder which has speaker, the audios are
mixed.
MIC NR
ON
Reduce noise from the microphone.
STANDARD SET menu (Continued)

Table of Contents

Related product manuals