EasyManua.ls Logo

Sony Model MV-700HR - Rear Case (LCD) Section; MONITOR Board

Sony Model MV-700HR
76 pages
Print Icon
To Next Page IconTo Next Page
To Next Page IconTo Next Page
To Previous Page IconTo Previous Page
To Previous Page IconTo Previous Page
Loading...
MV-700HR
12
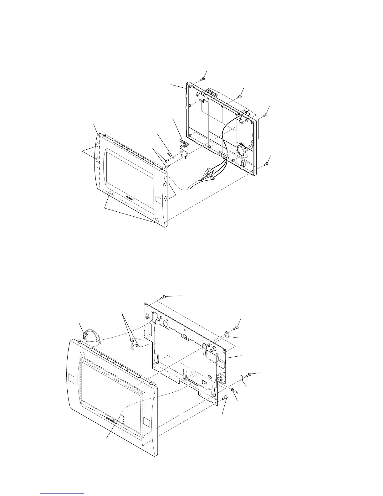
3-6. REAR CASE (LCD) SECTION
3-7. MONITOR BOARD
3
two screws
(B 2
×
5)
4
terminal
1
two screws
(B P-TITE M2)
1
two screws
(B P-TITE M2)
1
four screws
(B P-TITE M2)
2
two claws
2
two claws
2
two claws
1
five screws
(B P-TITE M2)
5
hinge (R) assy
6
rear case (LCD) section
7
front case (LCD) section
1
LCD flexible board
(CN907)
2
connector
(CN908)
2
connector
(CN913)
2
two connectors
(CN904, CN912)
3
two screws
(BTP 2
×
6)
4
three screws
(BTP 2
×
6)
4
screw
(BTP 2
×
6)
5
retainer (LCD)
6
MONITOR board
5
three retainers (LCD
)
3
two screws
(BTP 2
×
6)

Related product manuals