EasyManua.ls Logo

Sony RMT-830 - Page 75

Sony RMT-830
106 pages
Print Icon
To Next Page IconTo Next Page
To Next Page IconTo Next Page
To Previous Page IconTo Previous Page
To Previous Page IconTo Previous Page
Loading...
Dubbing/Editing
70
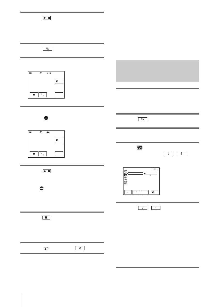
4 Touch (pause) again at the point
where you want to start recording the
sound.
The playback pauses.
5 Touch and select [PAGE3].
6 Touch [A DUB CTRL].
7 Touch [AUDIO DUB].
A green X mark appears on the LCD
screen.
8 Touch (play) and start playing
back the audio you want to record at
the same time.
A red mark remains on the LCD screen
while recording sound.
The new sound is recorded in stereo 2
([ST2]) during the playback of the tape.
9 Touch (stop) when you want to
stop recording.
To dub on other scenes, repeat steps 3 and 4
to select scenes, then touch [AUDIO DUB].
10Touch [ RET.], then .
To set the end point for audio dubbing
During playback, press ZERO SET MEMORY
on the Remote Commander at the scene at
which you want to stop audio dubbing. Then,
perform steps 4 to 8. The recording stops
automatically at the selected scene.
b Note
You can only record additional audio over a tape
recorded on your camcorder. The sound may
deteriorate when you dub audio on a tape recorded
on other camcorders (including other DCR-HC20
camcorders).
Checking and adjusting the
recorded sound
1 Play back the tape on which you have
recorded audio in “Recording sound”
(p. 69).
2 Touch to display [PAGE1].
3 Touch MENU.
4 Select (VCR SET), then select
[AUDIO MIX] with / , then
touch [EXEC].
5 Touch / to adjust the
balance between the original sound
([ST1]) and the sound added
afterwards ([ST2]). Then, touch
[EXEC].
The original sound ([ST1]) is output in the
default setting.
The adjusted audio balance returns to the
default setting in about 5 minutes after the
battery pack or other power sources have
been disconnected.
0:00:00:0060min
A DUB CTRL
AUDIO
DUB
RET.
RET.
0:00:00:0060min
AUDIO
DUB
0:00:00:0060min
A DUB CTRL
ST1
ST2
VCR SET
HiFi SOUND
AUDIO MIX
EXEC
RET.

Table of Contents

Related product manuals