EasyManua.ls Logo

Sony TCD-D8 Operating Instructions (primary manual) - Using the display

Sony TCD-D8 Operating Instructions  (primary manual)
82 pages
Print Icon
To Next Page IconTo Next Page
To Next Page IconTo Next Page
To Previous Page IconTo Previous Page
To Previous Page IconTo Previous Page
Loading...
Additional Information40
EN
Additional Information
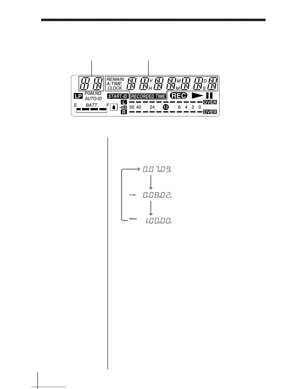
Using the display
Day/AM/PM indicator Tape counter/clock/message indicator
Tape counter display
Each time the COUNTER button is pressed, the display
changes as follows:
Tape counter (normal display)
Absolute time (absolute time
from the beginning of the tape)
Remaining time of the tape
To reset the tape counter (normal display) to
“0H00M00S”
Press the RESET button.
Remaining time of the tape
The remaining time of the tape appears normally after
about 16 seconds of commencing playback in the SP
mode. However, there may be a deviation in the
amount of time displayed depending on the tape.
Note
The tape counter is
provided as a visual
guideline and is not a
clock. The value
displayed in the counter
is not an accurate
depiction of the actual
time. Therefore, do not
use the tape counter as a
clock.

Table of Contents

Related product manuals