EasyManua.ls Logo

stellar labs 4420 - Valve Banks

Default Icon
72 pages
Print Icon
To Next Page IconTo Next Page
To Next Page IconTo Next Page
To Previous Page IconTo Previous Page
To Previous Page IconTo Previous Page
Loading...
50 4420 Owner’s Manual
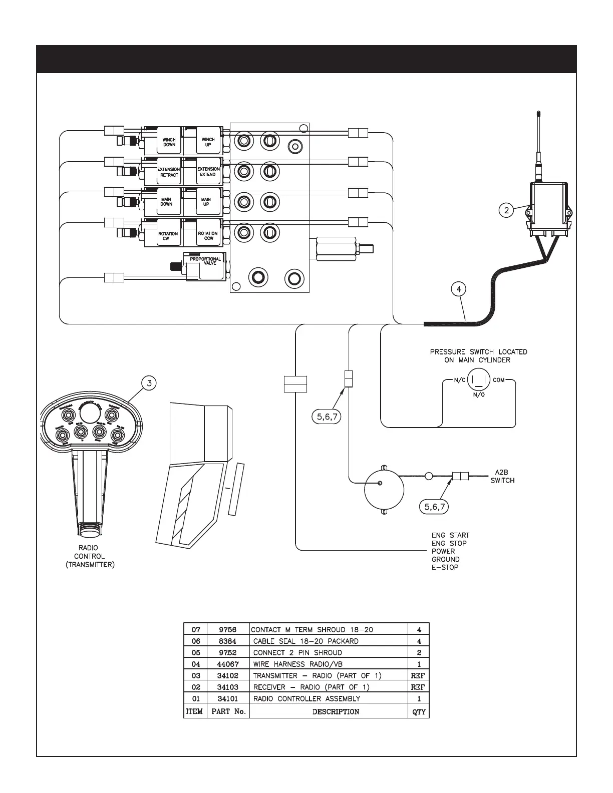
Control Kit (Proportional Version) - PN 43693
PN 43693

Table of Contents

Related product manuals