EasyManua.ls Logo

Stricker CITY 7 - 7 Adjust the Hand-Bike to the Rider; Adjust the Hand-Bike to the Width of the Wheelchair

Default Icon
36 pages
Print Icon
To Next Page IconTo Next Page
To Next Page IconTo Next Page
To Previous Page IconTo Previous Page
To Previous Page IconTo Previous Page
Loading...
Manual English V16/04 page 10
7 Adjust the Hand-Bike to the rider
The Hand-Bike can be adjusted to most wheelchairs. The adjustment depends on the
user. The whole process of adjustment has to be done only once, after that you simply
clamp the Hand-Bike to your wheelchair. Additional adjustments are not necessary.
The position of S1
can be on top or in front
Abb.8
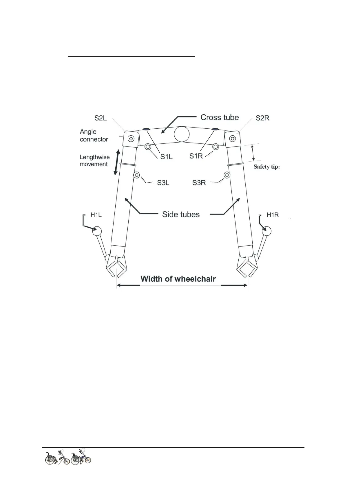
7.2 Adjust the Hand-Bike to the width of the wheelchair
For adjustment put the hand bike on the floor.
When you look at the Hand-Bike from the side, the two side tubes should have an
angle of approx. 90 degrees in relation to the steer tube. The angle has to be the same
on both sides. You can check this by aiming the backside tube over the front one.
Loosen bolts S1L and S1R for adjustment.
Now measure the width of the wheelchair at the front tubes of the frame. If the frame
tubes are not parallel, (V-form) the side tubes need to be turned. In order to do this
loosen the bolts S3L and S3R and adjust the side tubes to the angle of the wheelchair.
Make sure, that the side tubes are adjusted to the same length. Do not fix the bolts
completely at this stage.
Loosen the bolts S2L and S2R and bring the side tubes to the width of the wheelchair.
The side tubes should show approximately the same angle in relation to the steer tube.
Do not fix the bolts completely (see picture 9).