EasyManua.ls Logo

Strymon NIGHTSKY - Signal Flow Diagram

Strymon NIGHTSKY
53 pages
Print Icon
To Next Page IconTo Next Page
To Next Page IconTo Next Page
To Previous Page IconTo Previous Page
To Previous Page IconTo Previous Page
Loading...
NightSky - Time-Warped Reverberator
pg 50
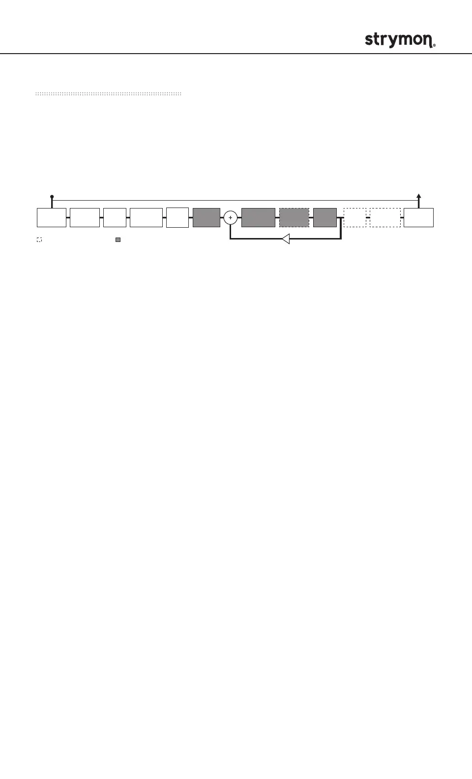
Signal Flow Diagram
This diagram shows the complete routing of audio through NightSky.
Keep in mind that DRIVE, SHIMMER, and FILTER blocks can be located
in only one of the shown locations.
GLIMMER
INPUT
SHIMMER
REGEN
SHIMMER
INFINITE
LOW CUT
FILTER
REGEN
FILTER
LOWPASS
FILTER
OUTPUT
DELAY
NETWORK
INPUT
DIFFUSION
PRE
DELAY
PRE
DRIVE
POST
DRIVE
DRY SIGNAL
VARIABLE PROCESSING RATEALTERNATE LOCATION

Other manuals for Strymon NIGHTSKY

Related product manuals