EasyManua.ls Logo

Synaccess netBooter Series - Page 38

Synaccess netBooter Series
46 pages
Print Icon
To Next Page IconTo Next Page
To Next Page IconTo Next Page
To Previous Page IconTo Previous Page
To Previous Page IconTo Previous Page
Loading...
User’s Manual
Synaccess Networks, Inc. www.synaccess-net.com (760) 930 0473 Page 38 of 46
Define a name for the power outlet.
Power Outlet:
Set the power outlet to power on or off state.
Power Outlet Timer:
Enable or disable the Timer for the port.
Enable AutoPing (Power reboot If user equipment’s network is down):
Disable or enable AutoPing power reboot function. If it is enabled, the system schedules auto
pings to the communication equipment that is connected to the power outlet. If no response is
received in a period of time (user defined, see below) from the communication equipment, the
system starts the power reboot process for the power outlet.
HelpInfo: use the command “/apVbs 1” to displays AutoPing run-time information.
Max Network Downtime allowed:
Set a value of maximum network down time, in seconds. If probed communication equipment
does not send ping response messages back to the system for this period of time, the system will
start reboot processes for the power outlet.
Note: AutoPing starts power reboot process if and only if the following two conditions are met:
1) NPC system is active on the network interface. This enables AutoPing mode at system
operation level.
The active network connection is verified periodically by pinging a network target IP address
(default to network gateways IP address). If there is no response from the network target
address, AutoPing mode is in off mode.
2) Once AutoPing mode is on, if user communication equipment stops sending responses back
to the NPC system for a period of time (Max Network Downtime allowed), power
rebooting process begins . If the user equipment has never sent a ping response back to the
system after AutoPing mode turns on, AutoPing will never trigger the power reboot process
for the power outlet.
AutoPing (Ping) destination IP address (or URL):
Enter an IP address of the probed communication equipment IP. This IP address is associated
to the power outlet.
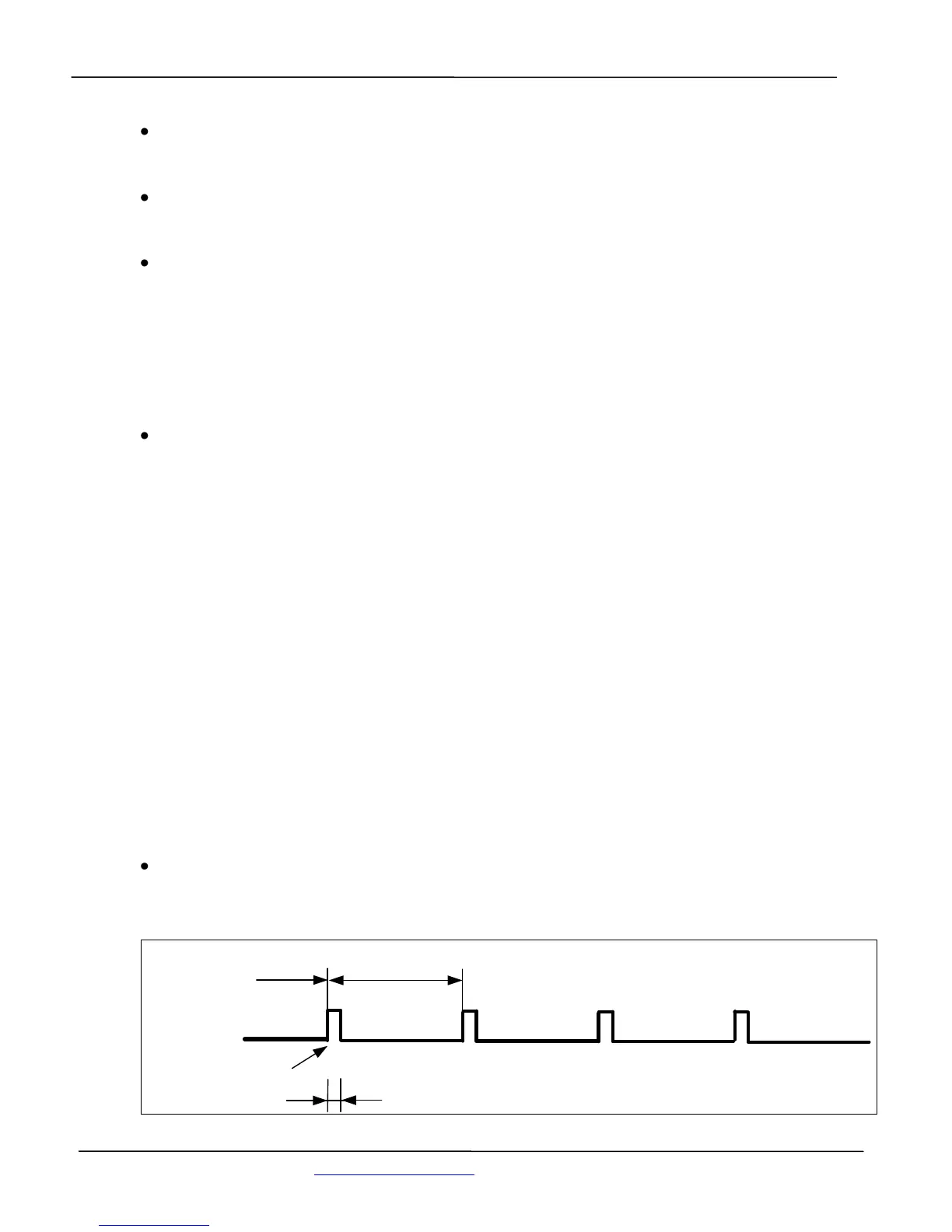
ON
Off
Timer Period
Loop Count 2
Loop Count 1
Loop Count 3
Loop Count 4
Timer Start Time
Toggle Duration

Table of Contents

Related product manuals