EasyManua.ls Logo

Taie FA211 - FY101 Terminal Layout

Default Icon
66 pages
Print Icon
To Next Page IconTo Next Page
To Next Page IconTo Next Page
To Previous Page IconTo Previous Page
To Previous Page IconTo Previous Page
Loading...
17
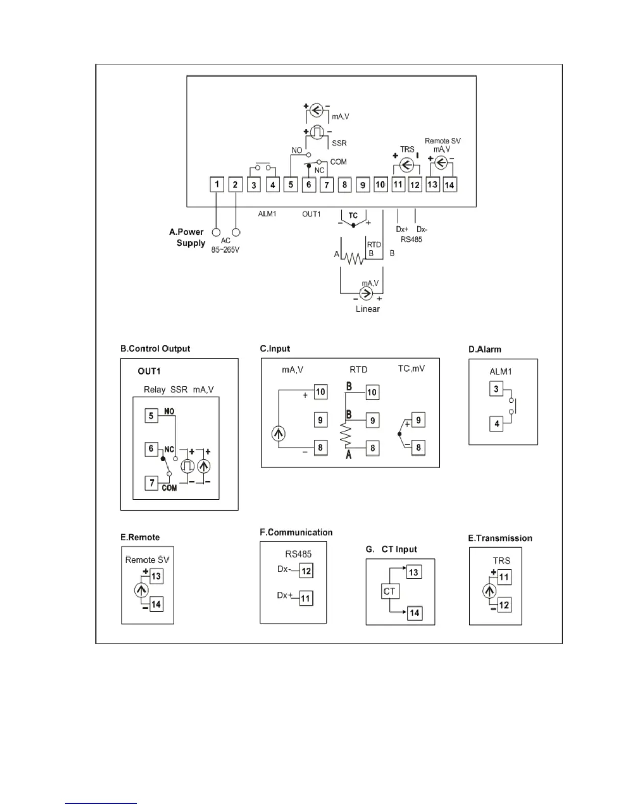
4.7 FY101 Terminals ( 90mm x 90mm )

Table of Contents

Related product manuals