EasyManua.ls Logo

Taie FY100 - FY101 Terminals ( 90 Mm X 90 Mm )

Taie FY100
66 pages
Print Icon
To Next Page IconTo Next Page
To Next Page IconTo Next Page
To Previous Page IconTo Previous Page
To Previous Page IconTo Previous Page
Loading...
17
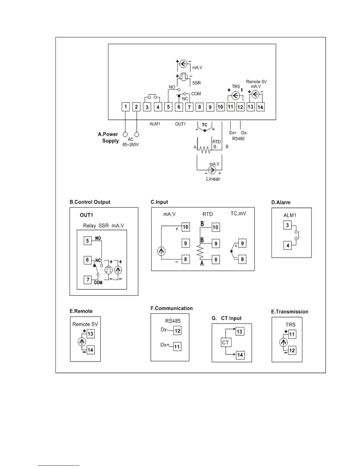
4.7 FY101 Terminals ( 90mm x 90mm )

Table of Contents

Other manuals for Taie FY100

Related product manuals