EasyManua.ls Logo

Teac A-400 - Monitor Performance; Specified Input Level Setting; Minimum Input Level Checks; Level Meter Calibration

Teac A-400
56 pages
Print Icon
To Next Page IconTo Next Page
To Next Page IconTo Next Page
To Previous Page IconTo Previous Page
To Previous Page IconTo Previous Page
Loading...
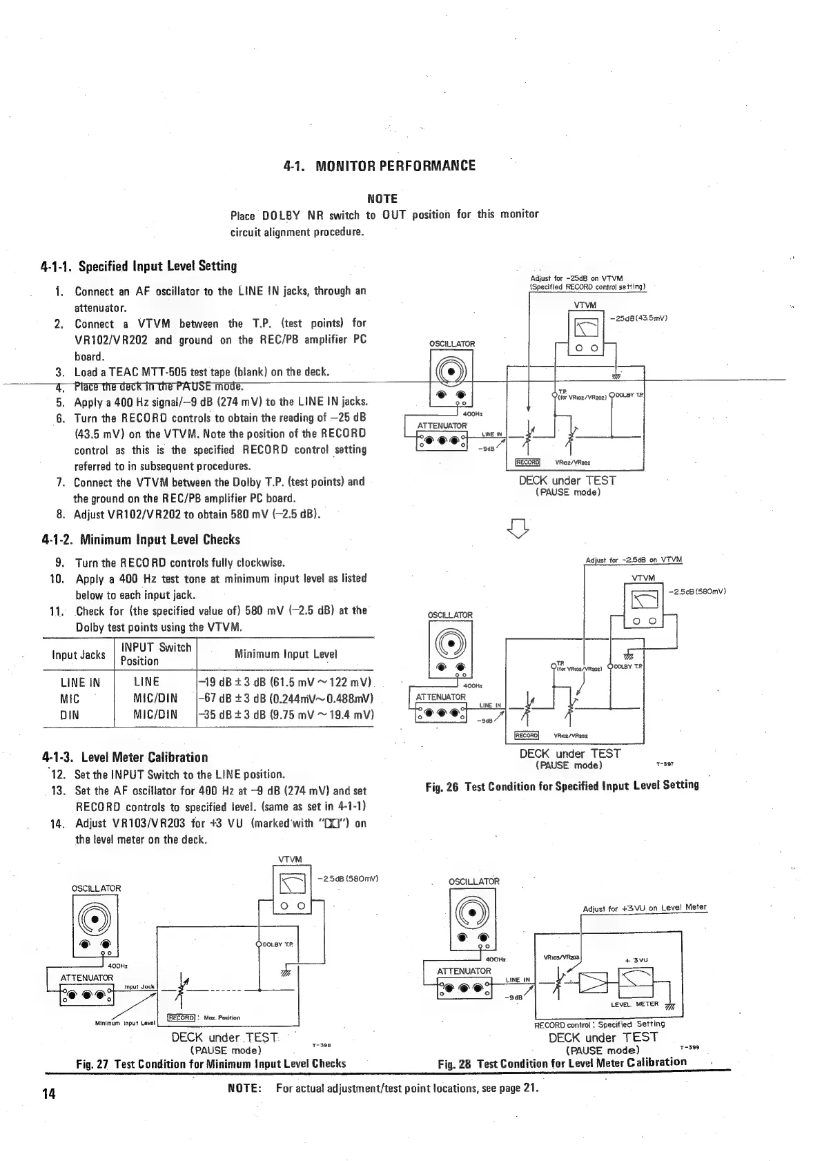
4-1.
MONITOR
PERFORMANCE
NOTE
Place
DOLBY
NR
switch
to
OUT
position
for
this
monitor
circuit
alignment
procedure.
4-1-1.
Specified
Input
Level
Setting
1.
Connect
an
AF
oscillator
to
the
LINE
IN
jacks,
through
an
attenuator.
2.
Connect
a
VTVM_
between
the
T.P.
(test
points)
for
VR102/VR202
and
ground
on
the
REC/PB
amplifier
PC
board.
Load
a
TEAC
MTT-505
test
tape
(blank)
on
the
deck.
Adjust
for
-25dB
on
VTVM
(Specified
RECORD
control
setting}
VTVM
—25dB(43.5mv)
OSCILLATOR
Place
the
deck
in
the
PAUSE
mode.
Apply
a
400
Hz
signal/—9
dB
(274
mV)
to
the
LINE
IN
jacks.
Turn
the
RECORD
controls
to
obtain
the
reading
of
—25
dB
(43.5
mV)
on
the
VTVM.
Note
the
position
of
the
RECORD
control
as
this
is
the
specified
RECORD
control
setting
referred
to
in
subsequent
procedures.
7.
Connect
the
VTVM
between
the
Dolby
T.P.
(test
points)
and
the
ground
on
the
REC/PB
amplifier
PC
board.
8.
Adjust
VR102/VR202
to
obtain
580
mV
(2.5
dB).
oO
or
oo
4-1-2.
Minimum
Input
Level
Checks
9.
Turn
the
RECORD
controls
fully
clockwise.
10.
Apply
a
400
Hz
test
tone
at
minimum
input
level
as
listed
below
to
each
input
jack.
11.
Check
for
(the
specified
value
of)
580
mV
(-2.5
dB)
at
the
Dolby
test
points
using
the
VTVM.
INPUT
Switch
Position
Input
Jacks
Minimum
Input
Level
19
dB
+3
dB
(61.5
mV
~
122
mV)
-67
dB
+3
dB
(0.244niV~0.488mV)
-35
dB
+3
dB
(9.75
mV
~
19.4
mV)
LINE
IN
LINE
Mic
MIC/DIN
DIN
MIC/DIN
4-1-3.
Level
Meter
Calibration
“12.
Set
the
INPUT
Switch
to
the
LINE
position.
13.
Set
the
AF
oscillator
for
400
Hz
at
—9
dB
(274
mV)
and
set
RECORD
controls
to
specified
level.
(same
as
set
in
4-1-1)
14.
Adjust
VR103/VR203
for
+3
VU
(marked'with
“O0”)
on
the
level
meter
on
the
deck.
VTVM
—2.5dB
(580mv)
OSCILLATOR
OodoLey
TP
|
400Hz
ATTENUATOR
RECORD}:
Max.
Position
Minimum
Input
Level
DECK
under
TEST
(PAUSE
mode)
.
Fig.
27
Test
Condition
for
Minimum
Input
Level
Checks
T~398
14
NOTE:
TP.
(for
VRioz/VR202)
POOLBY
TRI
400Hz
ATTENUATOR
VRio2/VR202,
DECK
under
TEST
(PAUSE
made)
i)
Adjust
for
-2.5dB
on
VTVM
VTVM
-2.5dB
(S80mv)
OSCILLATOR
vRioz/VReoz
DECK
under
TEST
(PAUSE
mode)
T397
Fig.
26
Test
Condition
for
Specified
Input
Level
Setting
OSCILLATOR
Adjust
for
+3VU
on
Level
Meter
VRi03/VR203
+
3vu
LEVEL
METER
|
RECORD
control
:
Specified
Setting
DECK
under
TEST
{PAUSE
mode)
TOROS
Fig.
28
Test
Condition
for
Level
Meter
Calibration
400Hr
ATTENUATOR
For
actual
adjustment/test
point
locations,
see
page
21.

Related product manuals