EasyManua.ls Logo

Technics SX-PX554 - Page 6

Technics SX-PX554
87 pages
Print Icon
To Next Page IconTo Next Page
To Next Page IconTo Next Page
To Previous Page IconTo Previous Page
To Previous Page IconTo Previous Page
Loading...
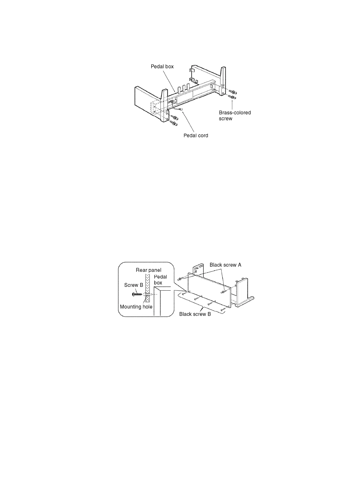
2. Place the stand uplight and mount the panel
- Place the stand upright and mount the rear panel with 2 black screws A
and 4 black screws B.
- Run the screws directly into the pedal box as there are no rough holes
in the pedal box.
Figure-3
3. Place the piano body
- Place the piano body on the stand and secure it with 4 black screws A.
Figure-4
5
www.freeservicemanuals.info
09/08/2012
www.nostatech.nl
World of free manuals

Related product manuals