EasyManua.ls Logo

TECO SG2-10HR-A - Page 229

TECO SG2-10HR-A
270 pages
To Next Page IconTo Next Page
To Next Page IconTo Next Page
To Previous Page IconTo Previous Page
To Previous Page IconTo Previous Page
Loading...
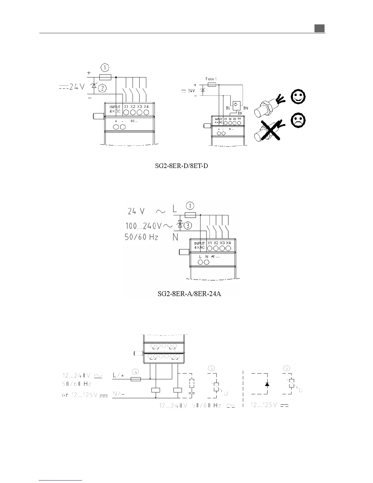
Chapter 9 Expansion Module 221
Wiring
1) 24V DC power input
2) 24V/100~240V AC power input
3) Relay Output
Y1 Y2
Y3
Y4
Output 4 x Relay / 8A
SG2-8ER-A
PDF compression, OCR, web optimization using a watermarked evaluation copy of CVISION PDFCompressor

Table of Contents

Related product manuals