EasyManua.ls Logo

Tescom DS360H - Parallel Operation; Introduction

Tescom DS360H
66 pages
Print Icon
To Next Page IconTo Next Page
To Next Page IconTo Next Page
To Previous Page IconTo Previous Page
To Previous Page IconTo Previous Page
Loading...
47
USER MANUAL
DS 300H Series 3/3 30 kVA UPS CONTROLLED UPS
45
V. PARALLEL OPERATION
5
.
1 Introduction
Two (or more) identical DS300H series UPSs can be interconnected for parallel operation.
The main purposes for parallel use of DS300H series UPSs are:
-Redundancy for Increased Reliability
-Power Increase
Although recent UPS designs are perfect and have high MTBF figures, a second (or more) UPS can be
used in parallel with the first one, for supplying the critical load in case of any possible failure of the first
UPS. In such an application the faulty UPS is isolated automatically from the parallel system and the other
UPS (or UPSs) continues to supply the critical load. Use of Redundant UPSs in parallel, therefore, provides
increased reliability for the critical load connected to the parallel system output.
If power demand increases in a certain UPS application exceeding the power rating of an already
installed stand-alone UPS, a second (or more) UPS of the same model and power rating can be added in
parallel to the existing UPS to increase the output power capacity.
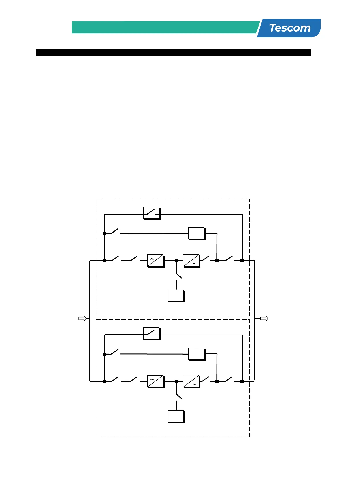
Schematic diagram of parallel connection of two DS300H series UPS units is shown in Figure 4.1
Figure 4.1
Parallel Connection of two UPSs
3 PHASE
MAINS I/P
3 PHASE
AC
Output
Rectifier /
Charger
Battery
(Dual Polarity)
Maintenance
Bypass
Static
Bypass
S2
(F4
-
F5
-
F6)
S1
(F1-F2-F3)
S5
(F10-F11-F12)
S3
S4
(F7-F8-F9)
Inverter
K2
K1
-
-
SB
Rectifier /
Charger
Battery
(Dual Polarity)
Maintenance
Bypass
Static
Bypass
S2
(F4
-
F5
-
F6)
S1
(F1-F2-F3)
S5
(F10-F11-F12)
S3
S4
(F7-F8-F9)
Inverter
K2
K1
-
-
SB

Table of Contents

Related product manuals