EasyManua.ls Logo

TSI Instruments 3080L - Impactor Inlet; Typical Flow Range for each Impactor Nozzle

TSI Instruments 3080L
149 pages
Print Icon
To Next Page IconTo Next Page
To Next Page IconTo Next Page
To Previous Page IconTo Previous Page
To Previous Page IconTo Previous Page
Loading...
Unpacking and Setting up the System 2–7
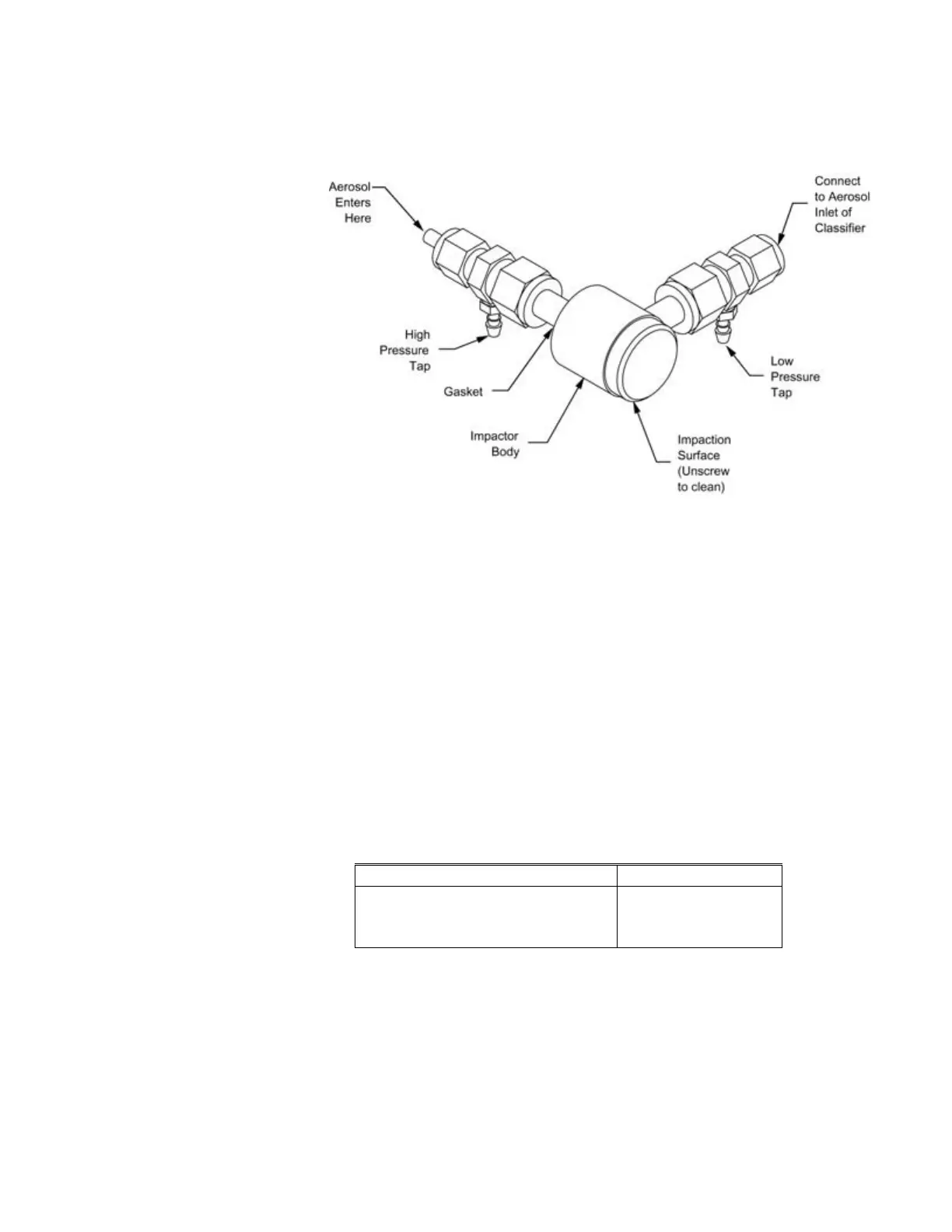
side of the impactor (fitting with low pressure tap) is attached to the
aerosol inlet of Classifier (
245HFigure 2-4).
Figure 2-4
Impactor Inlet
There are three nozzle sizes to choose from. The nozzle size and flow
rate determine the largest particle size that can be sampled within
each SMPS measuring size range. For best results, use
246HTable 2-2 to
determine the correct nozzle to use for the flow you set. Each nozzle
is interchangeable and can be screwed into the impactor body with
a gasket to seal the thread. Using the Classifier display, you can
view the flow rate directly from the pressure drop measured across
the impactor. The Classifier stores an internal calibration curve for
each impactor size and serial number. Only use the impactor
nozzles that come with the Classifier because the calibration curves
stored in the Classifier are unique for the nozzles.
Table 2-2
Typical Flow Range for Each Impactor Nozzle
Aerosol Inlet Flow Range (L/min) Nozzle Size (cm)
0.2 to 0.8 0.0457
0.3 to 1.0 0.0508
0.6 to 2.1 0.071
When you have selected a nozzle size you need to physically install
it in the impactor body and then set the corresponding nozzle size
on the front panel of the Classifier.
Artisan Technology Group - Quality Instrumentation ... Guaranteed | (888) 88-SOURCE | www.artisantg.com

Table of Contents

Related product manuals