EasyManua.ls Logo

Universal M-12 - Troubleshooting Guide; Test Procedure; Integral Regulator Systems

Default Icon
180 pages
Print Icon
To Next Page IconTo Next Page
To Next Page IconTo Next Page
To Previous Page IconTo Previous Page
To Previous Page IconTo Previous Page
Loading...
PROBLEM AREA DETERMINATION
SECTION
CONDITIONS: Engine Idling
For
All
Tests
(Unless otherwise specified)
A.
BATTERY
UNDERCHARGED
1.
Remove Battery sense
only.
a.
Perform Harness Voltage
Test
(Test
No.3)
2.
Indicator Lamp
On
a.
Perform Open Diode-Trio
Test
(Test
NO.1)
3.
Indicator Lamp Off (Ignition
on
and
engine stopped)
a.
Perform Regulator
Test.
(Test
No.2)
b.
If Regulator
is
O.K.,
the cause
is
probably
an
open field circuit and Alternator must
be
removed for repair.
4.
Further Investigation Requires Alternator Removal and Repair
(diodes).
B.
BATTERY
OVERCHARGED
1.
Regulator Shorted, Replace Regulator.
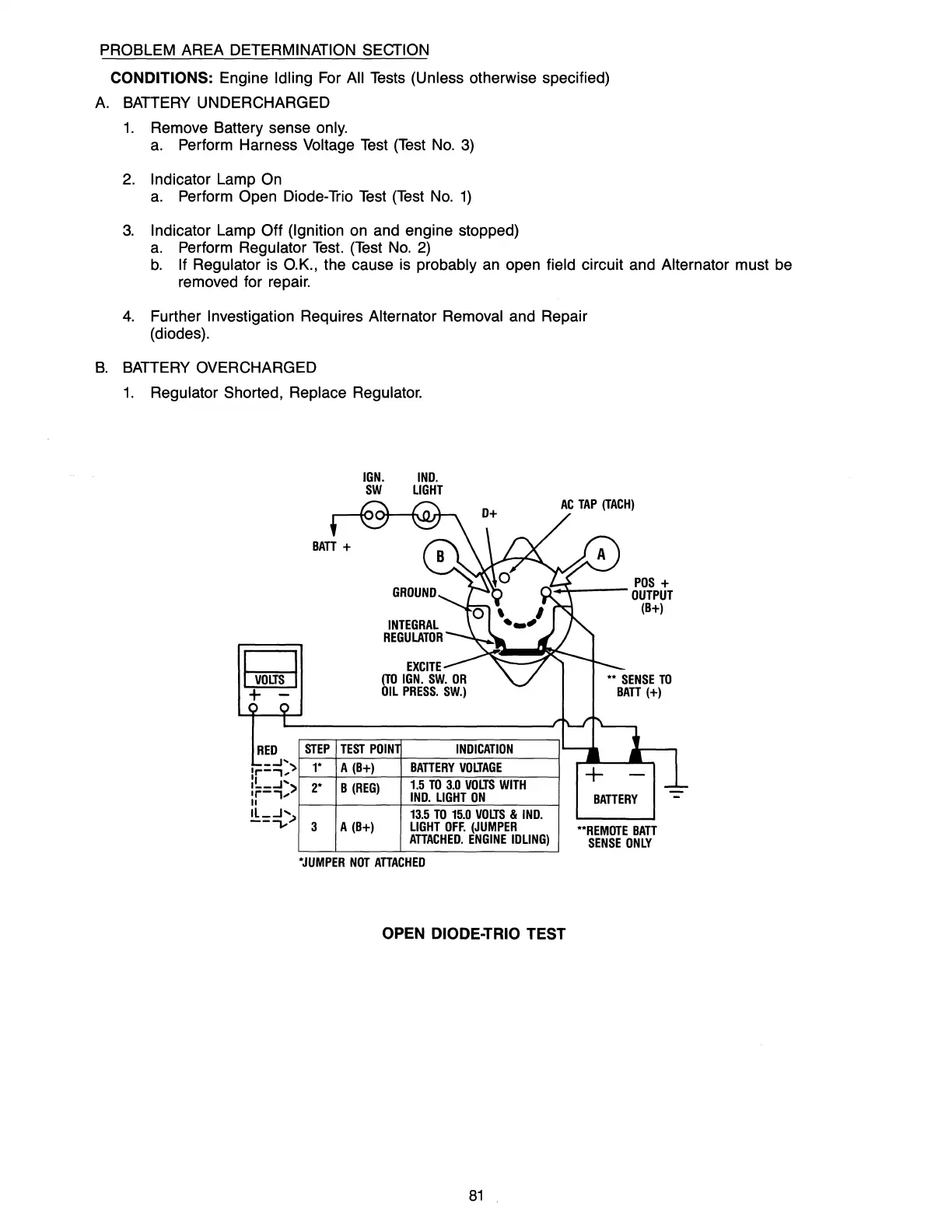
IGN.
IND.
SW
LIGHT
POS
+
(J.4~--
OUTPUT
(B+)
I
VOLTS
I
+ -
TEST
POIN
INDICATION
A
(B+)
BATTERY
VOLTAGE
B
(REG)
1.5
TO
3.0
VOLTS
WITH
IND.
LIGHT
ON
BATTERY
-
13.5
TO
15.0
VOLTS
&
IND.
A
(B+)
LIGHT
OFF.
(JUMPER
""REMOTE
BATT
ATTACHED.
ENGINE
IDLING)
SENSE
ONLY
"JUMPER
NOT
ATTACHED
OPEN
DIODE-TRIO TEST
81

Table of Contents

Related product manuals