EasyManua.ls Logo

Universal M-12 - Problem Area Determination Section; Battery Undecharged; Battery Overcharged

Default Icon
180 pages
Print Icon
To Next Page IconTo Next Page
To Next Page IconTo Next Page
To Previous Page IconTo Previous Page
To Previous Page IconTo Previous Page
Loading...
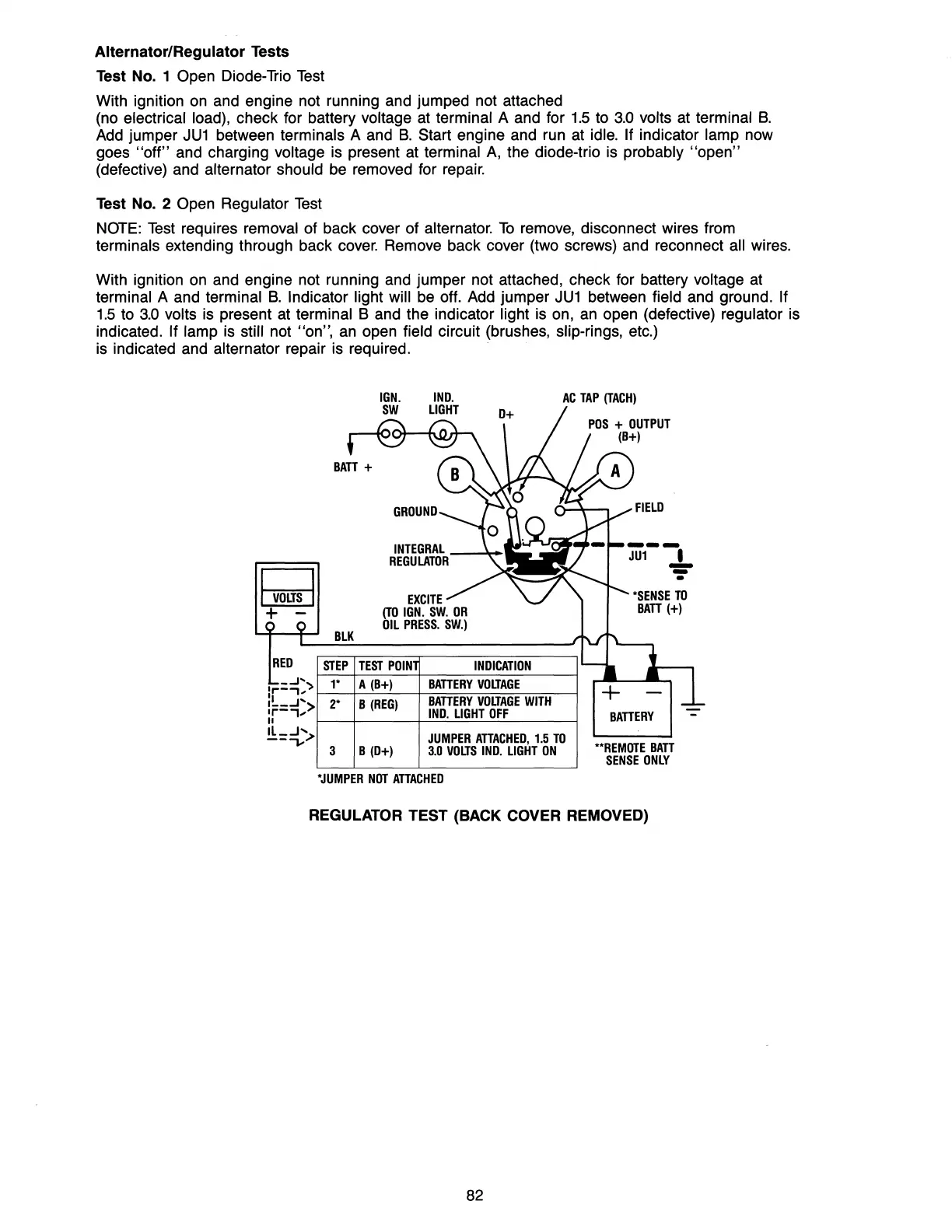
Alternator/Regulator Tests
Test No. 1
Open Diode-Trio
Test
With ignition
on
and engine not running and jumped not attached
(no
electrical load), check for battery voltage at terminal A and for
1.5
to
3.0
volts at terminal
B.
Add jumper
JU1
between terminals A and
B.
Start engine and run at idle. If indicator lamp now
goes
"off"
and charging voltage is present at terminal
A,
the diode-trio is probably
"open"
(defective) and alternator should
be
removed for repair.
Test No. 2
Open Regulator
Test
NOTE:
Test
requires removal of back cover of alternator.
To
remove, disconnect wires from
terminals extending through back
cover.
Remove back cover (two screws) and reconnect all wires.
With ignition
on
and engine not running and jumper not attached, check for battery voltage at
terminal A and terminal
B.
Indicator light will
be
off. Add jumper
JU1
between field and ground. If
1.5
to
3.0
volts is present at terminal B and the indicator light is on,
an
open (defective) regulator is
indicated.
If lamp is still not "on",
an
open field circuit (brushes, slip-rings, etc.)
is indicated and
alternator repair is required.
AC
TAP
(TACH)
I
VOLTS
I
+ -
BLK
STEP
TEST
POIN
INDICATION
A
(B+)
BATTERY
VOLTAGE
B
(REG)
BATTERY
VOLTAGE
WITH
IND.
LIGHT
OFF
BATTERY
-
JUMPER
ATTACHED,
1.5
TO
""REMOTE
BATT
B
(D+)
3.0
VOLTS
IND.
LIGHT
ON
SENSE
ONLY
"JUMPER
NOT
ATTACHED
REGULATOR TEST (BACK COVER REMOVED)
82

Table of Contents

Related product manuals