EasyManua.ls Logo

Universal M-12 - Page 91

Default Icon
180 pages
Print Icon
To Next Page IconTo Next Page
To Next Page IconTo Next Page
To Previous Page IconTo Previous Page
To Previous Page IconTo Previous Page
Loading...
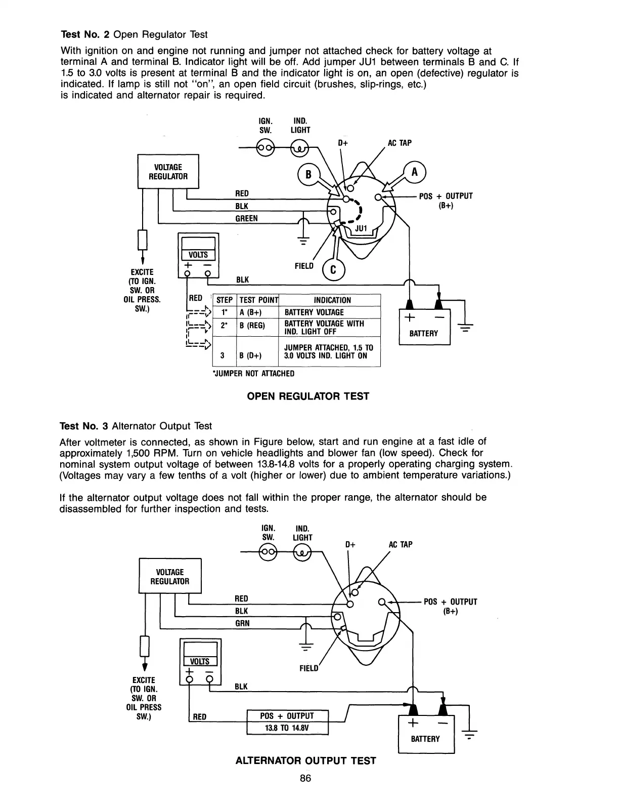
Test No. 2 Open Regulator
Test
With ignition
on
and engine not running and jumper not attached check for battery voltage at
terminal A and terminal
B.
Indicator light will
be
off. Add jumper
JU1
between terminals
Band
C.
If
1.5
to
3.0
volts is present at terminal B and the indicator light is on,
an
open (defective) regulator is
indicated.
If lamp
is
still not "on",
an
open field circuit (brushes, slip-rings, etc.)
is indicated and
alternator repair is required.
VOLTAGE
REGULATOR
IGN.
IND.
sw.
LIGHT
RED
n+~-
POS
+
OUTPUT
EXCITE
(TO
IGN.
sw.
OR
Oil
PRESS.
sw.)
I
VOLTS
I
+ -
BlK
GREEN
BlK
RED
I
STEP
TEST
POIN
INDICATION
li=~
1*
A
(B+)
BATTERY
VOLTAGE
I
....
--~
B
(REG)
BATTERY
VOLTAGE
WITH
:/-
-..
IND.
LIGHT
OFF
!!:-=="v>
JUMPER
ATTACHED,
1.5
TO
3 B
(D+)
3.0
VOLTS
IND.
LIGHT
DN
·JUMPER
NOT
ATTACHED
OPEN REGULATOR TEST
Test No. 3
Alternator Output
Test
(B+)
BATTERY
After voltmeter is connected,
as
shown
in
Figure below, start and run engine at a fast idle of
approximately
1,500
RPM.
Turn
on
vehicle headlights and blower fan
(lOW
speed). Check for
nominal system output voltage of between
13.8-14.8
volts for a properly operating charging system.
(Voltages may vary a few tenths of a volt (higher or lower) due to ambient temperature variations.)
If the alternator output voltage does not fall within the proper range, the alternator should
be
disassembled for further inspection and tests.
VOLTAGE
REGULATOR
EXCITE
(TO
IGN.
sw.
OR
Oil
PRESS
sw.)
I
VOLTS
I
+ -
RED
IGN.
IND.
sw.
LIGHT
RED
BlK
GRN
BlK
POS
+
OUTPUT
13.8
TO
14.8V
ALTERNATOR OUTPUT TEST
86
U
-.-\--
POS
+
OUTPUT
(B+)
BATTERY
-

Table of Contents

Related product manuals