EasyManua.ls Logo

Utilitech 0955549 - Pump Priming and Startup

Utilitech 0955549
40 pages
Print Icon
To Next Page IconTo Next Page
To Next Page IconTo Next Page
To Previous Page IconTo Previous Page
To Previous Page IconTo Previous Page
Loading...
15
Discharge Tee
Vent plug
Vent plug
opening
Priming plug
opening
2
Vent plug
Priming plug
or pressure
gauge
Suction
Pipe
1
Wire
from
motor
Wire from
power
supply
Ground Screws
Green
ground
wire
5
5. Connect the green ground wire from the
power supply to the remaining green ground
screw in the pressure switch and re-attach
the pressure switch cover.
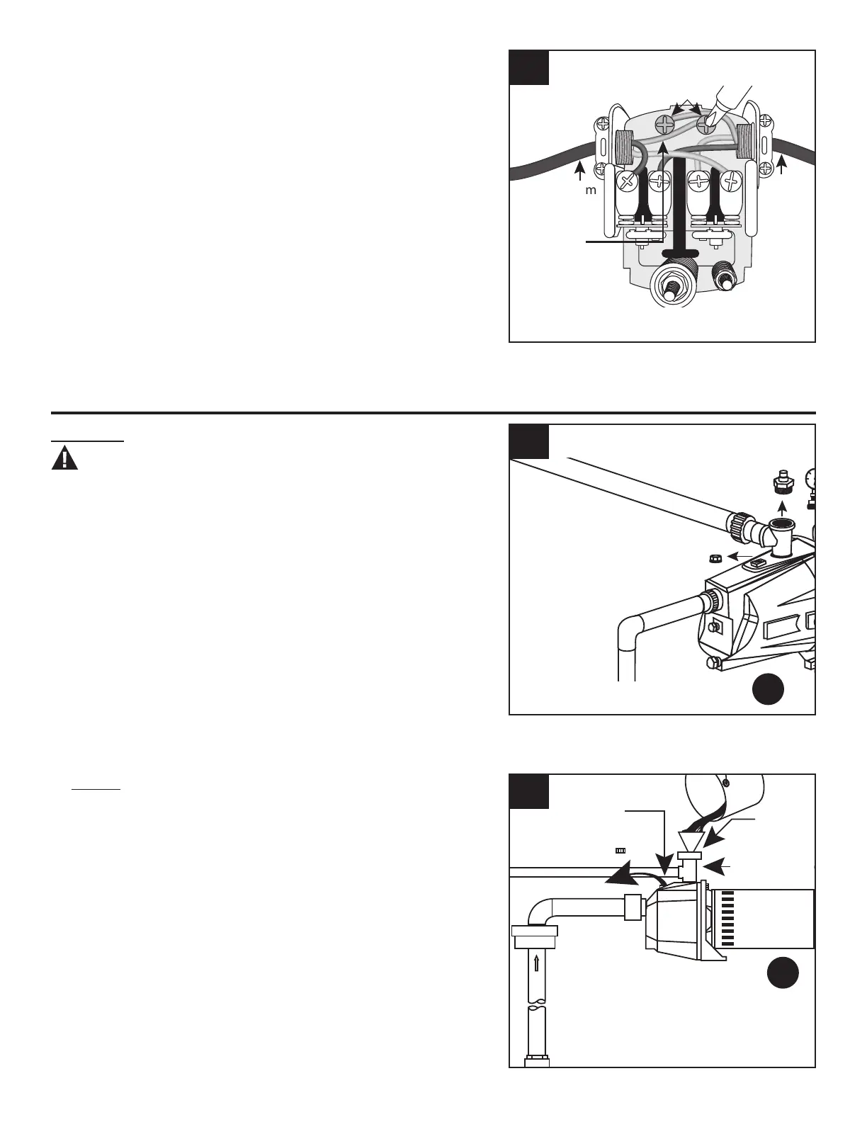
PUMP PRIMING AND STARTUP
PRIMING
CAUTION: All pumps must be primed
(lling the cavity with water) before they are
rst operated. This may take several gallons
of water, as the suction pipe will be lled in
addition to the cavity of pump (A).
1. Remove pipe plug or pressure gauge (not
included) at the top of the discharge tee and
the vent plug in front of the discharge tee.
A
2. Slowly ll the discharge tee with water until
water overows the vent plug opening.
Replace the vent plug loosely.
NOTE: It will take several minutes to fill pump
(A) and suction pipe completely.
A

Related product manuals