EasyManua.ls Logo

Valet 562T - remote start harness H3 wire connection guide; H3 1 BLACK WHITE neutral safety switch input; H3 2 VIOLET WHITE tachometer input; H3 3 BROWN brake switch input

Valet 562T
43 pages
Print Icon
To Next Page IconTo Next Page
To Next Page IconTo Next Page
To Previous Page IconTo Previous Page
To Previous Page IconTo Previous Page
Loading...
© 2005 Directed Electronics—all rights reserved
1199
rreemmoottee ssttaarrtt hhaarrnneessss ((HH33)) wwiirree ccoonnnneeccttiioonn gguuiiddee
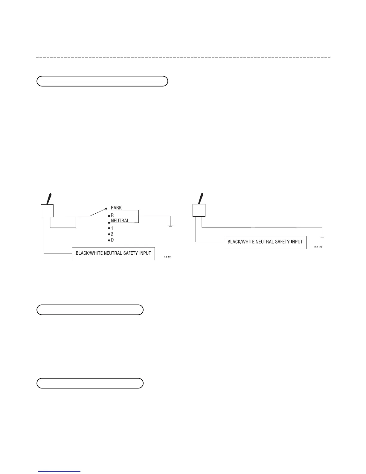
Connect this wire to the toggle (override) switch as shown in Figure A. Connect the other wire from the toggle
switch to the PARK/NEUTRAL switch in the vehicle. This wire will test with ground with the gear selector either
in PARK or NEUTRAL. This will prevent the vehicle from accidentally being started while in a drive gear. This input
MUST rest at ground in order for the remote start system to operate. Connected properly the vehicle will only
start while in PARK or NEUTRAL.
In some vehicles, the PARK/NEUTRAL position switch activates a factory starter lock out that will not allow the
starter to operate in a drive gear. In these vehicles, connect this wire to the toggle switch as shown in Figure
B. Connect the other wire from the toggle switch to chassis ground.
FFiigguurree AA FFiigguurree BB
IIMMPPOORRTTAANNTT!!
Always perform the Vehicle Safety Check section of this guide to verify that the
vehicle cannot be started in ANY drive gear and that the override switch is functioning properly.
This input provides the module with information about the engine's revolutions per minute (RPMs). It can be
connected to the negative side of the coil in vehicles with conventional coils. In multi-coil and high energy igni-
tion systems locating a proper signal may be more difficult. (See
Installation Points to Remember
section of this
guide for finding the tachometer wire.) Once connected, you must teach the system the tach signal. (See
Tach
Learning
section of this guide.)
This wire MUST be connected to the vehicle's brake light wire. This is the wire that shows (+) 12V when the brake
pedal is pressed. The remote start will be disabled or shut down any time the brake pedal is pressed.
HH33//33 BBRROOWWNN ((++)) bbrraakkee sswwiittcchh iinnppuutt
HH33//22 VVIIOOLLEETT//WWHHIITTEE ttaacchhoommeetteerr iinnppuutt
HH33//11 BBLLAACCKK//WWHHIITTEE nneeuuttrraall ssaaffeettyy sswwiittcchh iinnppuutt

Table of Contents

Related product manuals