EasyManua.ls Logo

Valley Rainger Linear - Machine Alignment

Default Icon
104 pages
Print Icon
To Next Page IconTo Next Page
To Next Page IconTo Next Page
To Previous Page IconTo Previous Page
To Previous Page IconTo Previous Page
Loading...
84 Rainger Linear
MAINTENANCE
Machine Alignment
The machine is initially aligned when it is installed.
However, for various reasons it may become
necessary to adjust the alignment.
!
WARNING
DO NOT ALIGN THE MACHINE WHEN THERE
ARE ESTABLISHED WHEEL TRACKS. WHEEL
TRACKS MUST BE REMOVED BEFORE
ALIGNING THE MACHINE TO REDUCE THE
POSSIBILITY OF STRUCTURAL DAMAGE.
Alignment should be checked annually and adjusted
before there are wheel tracks.
Alignment is an important factor in the operation of
the machine. A misaligned machine develops very
high stresses which could cause structural damage
and reduce expected motor and gearbox life.
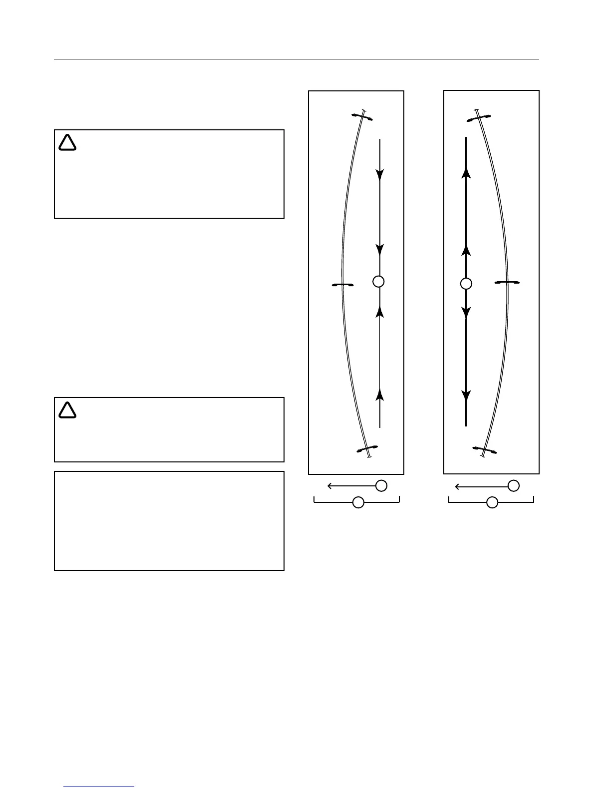
A leading bow creates extreme tension or linear
pulling force over the entire machine. See Figure
84-1.
A trailing bow creates extreme compressing or linear
pushing force on the entire machine. When the spans
are compressed, they lose their inherent strength.
See Figure 84-1.
!
WARNING
A TRAILING BOW IN EITHER DIRECTION IS
NEVER ACCEPTABLE AND MAY RESULT IN
SEVERE STRUCTURAL DAMAGE.
NOTE
If the irrigation machine is operated in for-
ward and reverse, a leading bow in one di-
rection becomes a trailing bow in the other
direction. Therefore, such a machine should
be aligned to operate in as straight a line as
possible.
1 1
4
5
32
Figure 84-1 1. Direction of Travel
2. Leading Bow
3. Trailing Bow
4. Direction of Pulling
5. Direction of Pushing

Table of Contents

Related product manuals