EasyManua.ls Logo

Vermeiren Luna Basic 2 - Page 46

Vermeiren Luna Basic 2
148 pages
Print Icon
To Next Page IconTo Next Page
To Next Page IconTo Next Page
To Previous Page IconTo Previous Page
To Previous Page IconTo Previous Page
Loading...
Luna 2 Luna Basic 2, Luna UL 2
2016-06
Page22
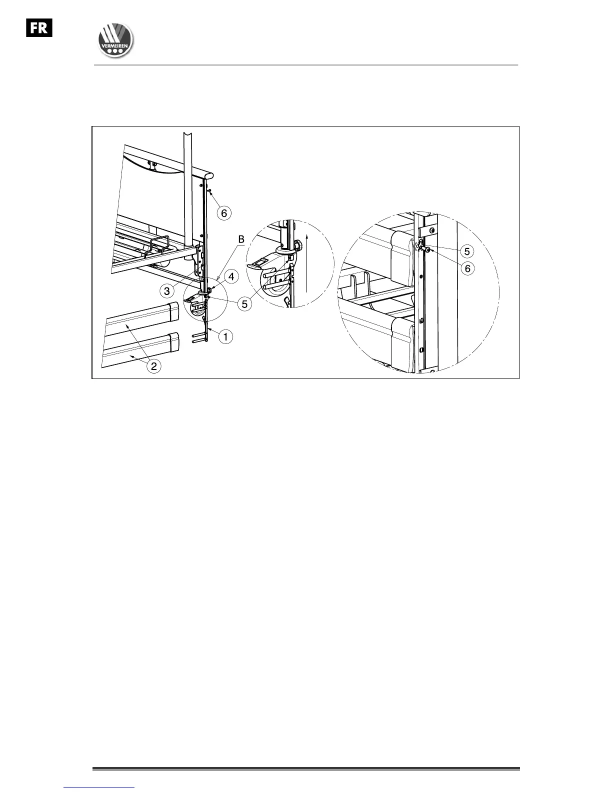
3.3.3 Barreaux latéraux en bois (Pour Luna 2, Luna Basic 2)
Ajuster la hauteur du lit au milieu. Avec une hauteur trop faible, il n'est pas possible de
monter les rails. latéraux. Avec une trop grande hauteur, vous devez tirer les rails latéraux
trop loin vers le haut.
1. Fixez l’arrêt et la vis (trou le plus bas sommier à lattes dans la position la
plus basse ; trou le plus haut
sommier à lattes dans la position la plus haute).
2. Au besoin, desserrez les contre-écrous .
3.
Insérez les rails à broche à droite et à gauche dans le barreau en bois supérieur.
Insérez les rails à broche
à droite et à gauche dans le barreau en bois inférieur .
4.
Glissez tout ce système de rail + barreaux en bois dans le guide prévu de
barreau frontal ou arrière de lit. Saisissez la latte de bois supérieure vers le haut
jusqu'à ce que les verrous de rails latéraux en bois soient en position.
5.
Introduisez les contre-écrous et serrez-les manuellement.
6.
Répétez les instructions ci-dessus pour l'autre côté.
Pour libérer les barreaux latéraux en bois, consultez la section 2.6.
1 = Rails à broche
2 = Lattes en bois (2 pièces de chaque côté)
3 = Glissière
4 = Contre-écrou
5 = Arrêt
6 = Vis

Table of Contents

Other manuals for Vermeiren Luna Basic 2

Related product manuals