EasyManua.ls Logo

Viking pump CMD-E02 Series - E02; Exploded Views

Default Icon
24 pages
Print Icon
To Next Page IconTo Next Page
To Next Page IconTo Next Page
To Previous Page IconTo Previous Page
To Previous Page IconTo Previous Page
Loading...
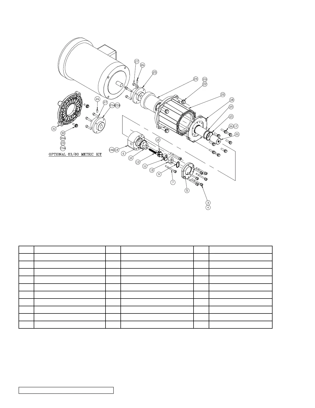
SECTION TSM 344 ISSUE E PAGE 4 OF 24
     
2 Drive Screw 13 Drive Gear Assembly * 23 Washer
3 Bolts 14 Center Housing 24 Drive Magnet
4 Washers 15 O-Ring, Containment Canister * 25 Coupling Hub
5 Front Cover 16 Bolts 26 Set Screw
6 O-Ring, Cover * 17 Washers 27 Screws
7 Bolts 18 Adapter, Canister 29 Bolts
9 O-Ring, Compression * 19 Containment Canister 30 Washer
10 Bearing * 20 Adapter, Spool 31 Adapter, Motor
11 Housing Liner * 21 Driven Magnet Assembly
12 Idler Gear Assembly * 22 Bolts




Related product manuals