EasyManua.ls Logo

Voltronic Power 10KW - Operation Mode Displays

Voltronic Power 10KW
53 pages
Print Icon
To Next Page IconTo Next Page
To Next Page IconTo Next Page
To Previous Page IconTo Previous Page
To Previous Page IconTo Previous Page
Loading...
38
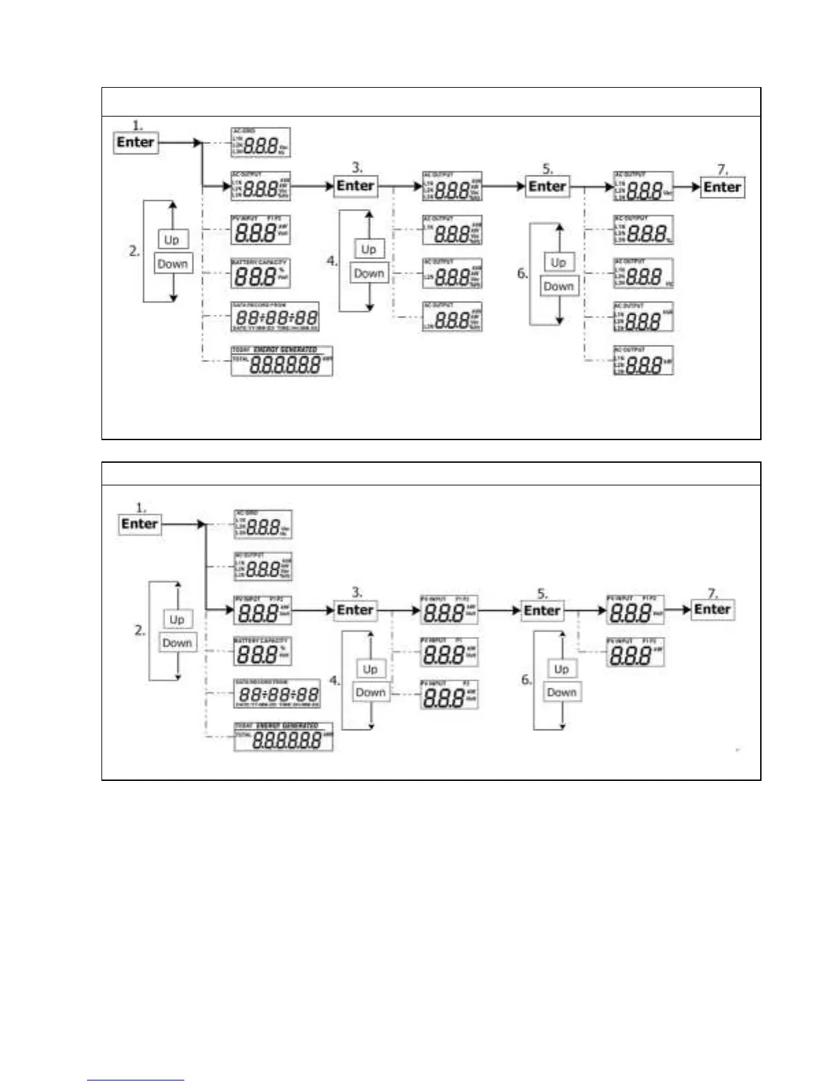
Frequency, voltage, power or percentage of AC output
Procedure
Input voltage or power of PV input.
Procedure

Related product manuals