EasyManua.ls Logo

Volvo Penta D5A - D5 A TA KC Marine Genset (1½-circuit)

Volvo Penta D5A
116 pages
Print Icon
To Next Page IconTo Next Page
To Next Page IconTo Next Page
To Previous Page IconTo Previous Page
To Previous Page IconTo Previous Page
Loading...
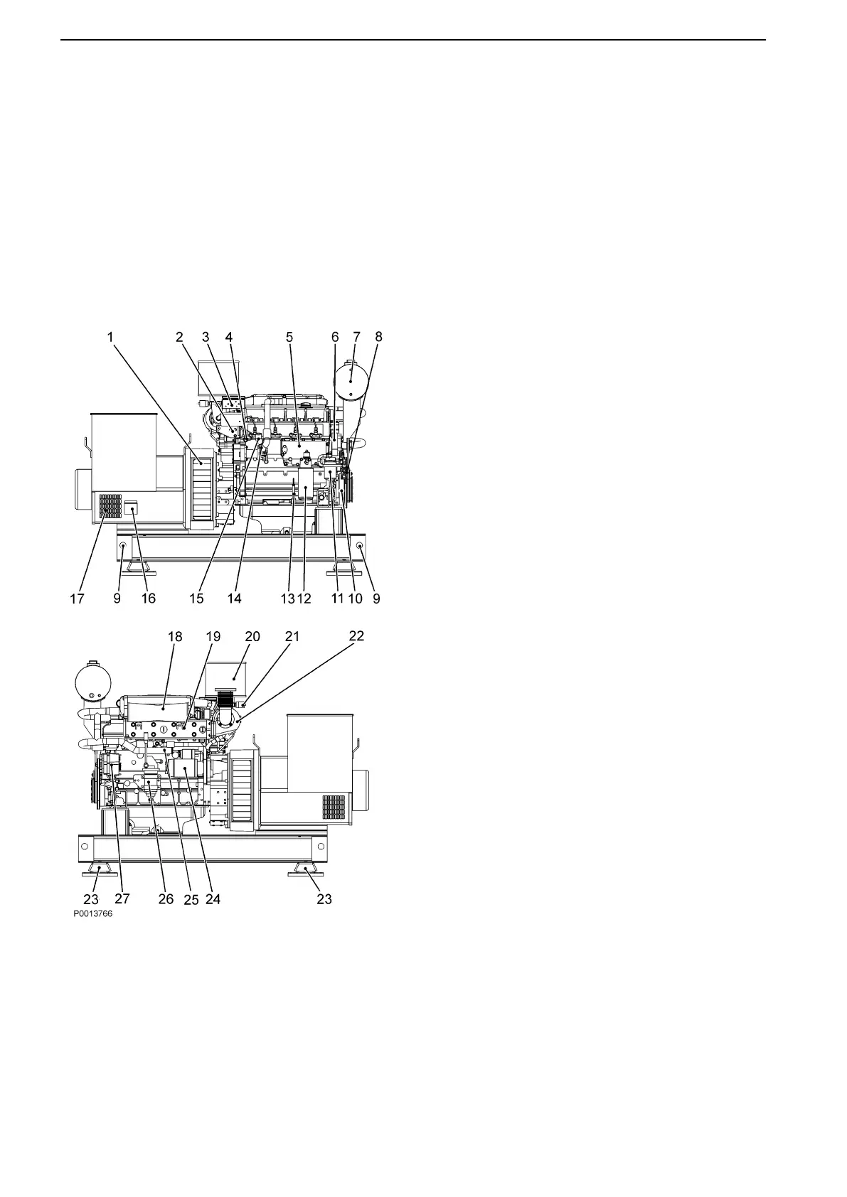
D5A TA KC Marine Genset (1½-circuit)
The D5A TA KC is a turbocharged, aftercooled, in-line,
direct injection, 4-cylinder, 4-stroke marine genset. It
is fit-ted with connections for 1-circuit keel cooling.
An optimal combination of combustion chambers, fuel
injection system, effective turbocharger and charge
aircooling, provide excellent fuel consumption over the
whole range of power output.
The engine is mounted on a frame with a Stamford
single or double bearing marine generator. Different
startingand control systems are available.
1 Air outlet generator
2 Governor & Stop solenoid
3 Electrical connection box
4 Fuel return
5 Oil cooler
6 HT-pump
7 Expansion tank
8 Fuel pump & Fuel inlet
9 Lifting eyes
10 Vibration damper
11 Fuel filter
12 Oil filter
13 Oil dip stick
14 LT-pump
15 Coolingwater inlet (LT-circuit)
16 Electrical connection unit
17 Air inlet generator
18 Charge air cooler
19 Exhaust manifold
20 Air filter
21 Air filter indicator
22 Turbocharger
23 Flexible mountings
24 Electrical starter
25 Cooling water outlet (LT-circuit)
26 Engine oil drain pump
27 Alternator
Maintenance
42 47713337 03-2021 © AB VOLVO PENTA

Table of Contents

Related product manuals