EasyManua.ls Logo

Waters ACQUITY CH-A - Page 33

Waters ACQUITY CH-A
101 pages
Print Icon
To Next Page IconTo Next Page
To Next Page IconTo Next Page
To Previous Page IconTo Previous Page
To Previous Page IconTo Previous Page
Loading...
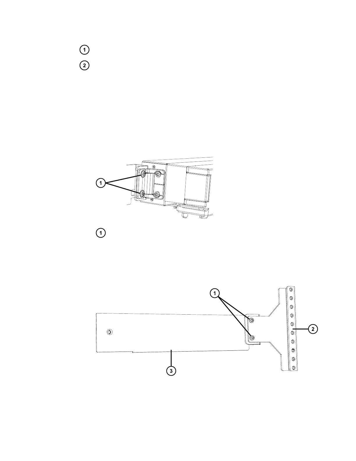
Short side of hinge attached to MS-extension bracket
Long side of hinge attached to column-heater housing
7. Swing the column-heater housing, aligning it with the front of the mass spectrometer, and
examine the positioning to determine if the column-heater housing is at the correct height
for the mass spectrometer inlet.
8. If you must adjust the height of the column-heater housing up or down to align it with the
mass spectrometer inlet, perform these steps:
a. Remove the two TORX screws that secure the hinge to the MS-extension bracket.
Figure 2–19: Removing the screws that secure the hinge to the MS-extension
bracket
Remove these two TORX screws
b. Using the two TORX screws, attach the height-adjustment bracket to the MS-
extension bracket.
Figure 2–20: Attaching the height-adjustment bracket to the MS-extension
bracket
December 4, 2019, 715005052 Version 02 (previously released as Rev.B)
Page 33

Table of Contents

Related product manuals