EasyManua.ls Logo

Waters ACQUITY CH-A - Page 35

Waters ACQUITY CH-A
101 pages
Print Icon
To Next Page IconTo Next Page
To Next Page IconTo Next Page
To Previous Page IconTo Previous Page
To Previous Page IconTo Previous Page
Loading...
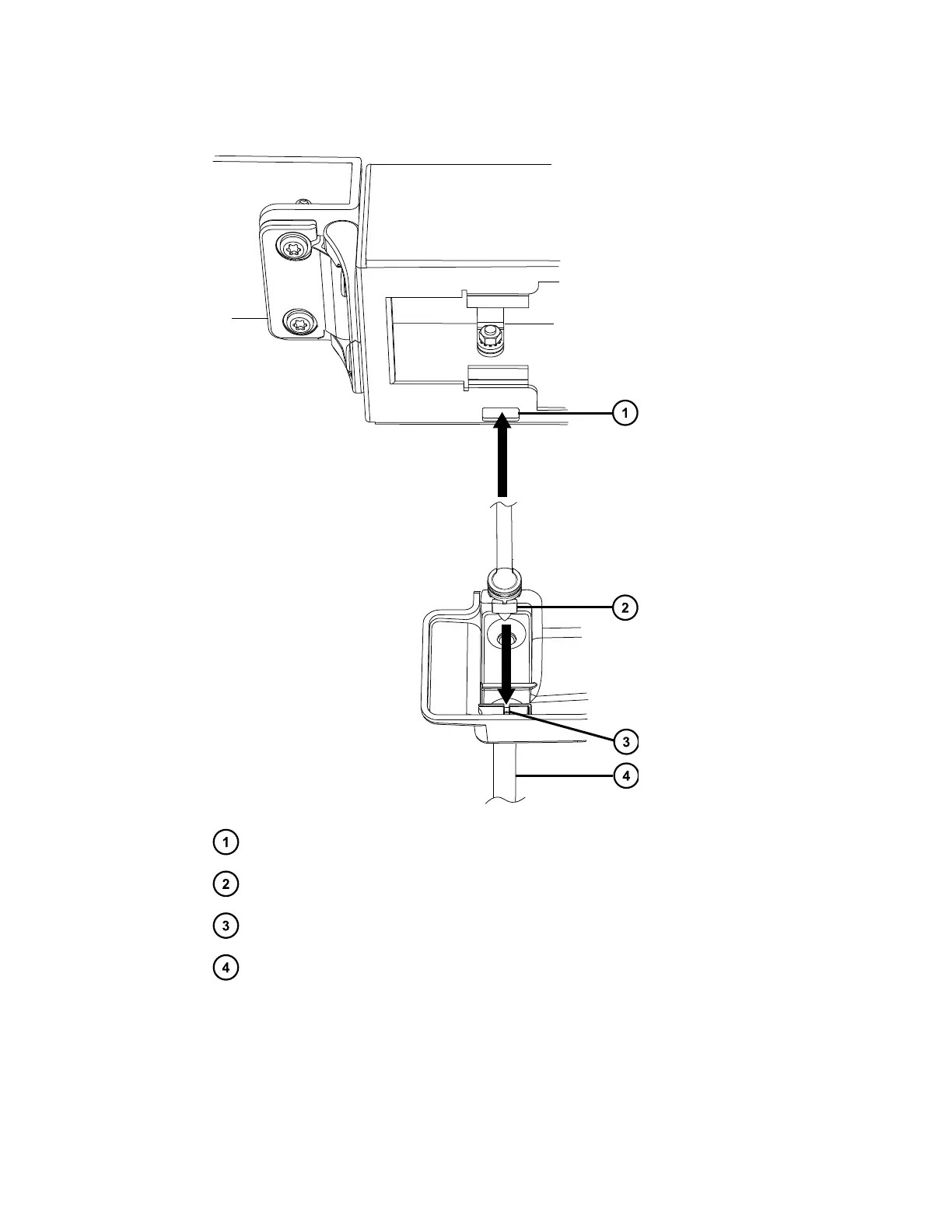
Figure 2–22: Aligning and inserting the leak sensor in the MS-bracket drip tray
Slot in column-heater housing for routing leak-sensor cable
Leak-sensor T-bar
Slot in leak-sensor reservoir
Drain tubing
12. Route the leak-sensor cable through the slot in the column-heater housing.
13. Push the drain tubing onto the barbed drain fitting on the left-hand side of the MS-bracket
drip tray and route it to a suitable waste container.
December 4, 2019, 715005052 Version 02 (previously released as Rev.B)
Page 35

Table of Contents

Related product manuals