EasyManua.ls Logo

Weber 100 - IGNITION INSTRUCTIONS; Summary Lighting Procedures; Ignition Safety Warnings

Weber 100
24 pages
Print Icon
To Next Page IconTo Next Page
To Next Page IconTo Next Page
To Previous Page IconTo Previous Page
To Previous Page IconTo Previous Page
Loading...
WWW.WEBER.COM
®
15
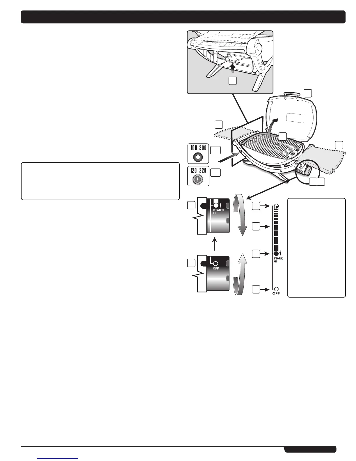
IGNITION INSTRUCTIONS
1
3
6a
6b
2
5
3 5
A
B
C
D
7
2
4
A. - LOW
B. - MED
C. - START/HIGH
D. - OFF
m DANGER
Failure to open the lid while igniting the barbecue’s burner,
or not waiting 5 minutes to allow the gas to clear if the
barbecue does not light, may result in an explosive flare-up,
which can cause serious bodily injury or even death.
IGNITION
Summary lighting instructions are on the fold-out side table (Q120, 200, 220).
A) Open the lid (1).
B) Unfold the side tables (2) (Q120, 200, 220).
C) Make sure the control knob is turned OFF (3).
(Push control knob in and turn clockwise to ensure that it is in the OFF position.)
m WARNING: Do not lean over the open barbecue. Keep
your face and body at least 30 cm (12 in) away from the
matchlight hole when lighting the barbecue (4).
D) Turn on the cylinder valve using one of the appropriate options based on your
cylinder and regulator type.
E) Push burner control knob in and turn to START/HI (5).
F) Push the red ignition button several times, so it clicks each time (6a) (Q100, 200).
G) Push the electronic ignition button several times. You will hear it spark (6b) (Q120,
220).
H) Check that the burner is lit by looking down through the cooking grate. You should
see a flame (7).
m WARNING: If the burner does not light, turn the burner
control knob to OFF and wait 5 minutes to let the gas clear
before you try again or before you try to light with a match.
m CAUTION: Do not fold in side tables until barbecue is cold
(Q120, 200, 220).
TO EXTINGUISH
Push in and turn burner control knob clockwise to the OFF position.

Related product manuals