EasyManua.ls Logo

WEST 8800 - 8800 Process Controller with Measured Value Output

WEST 8800
88 pages
Print Icon
To Next Page IconTo Next Page
To Next Page IconTo Next Page
To Previous Page IconTo Previous Page
To Previous Page IconTo Previous Page
Loading...
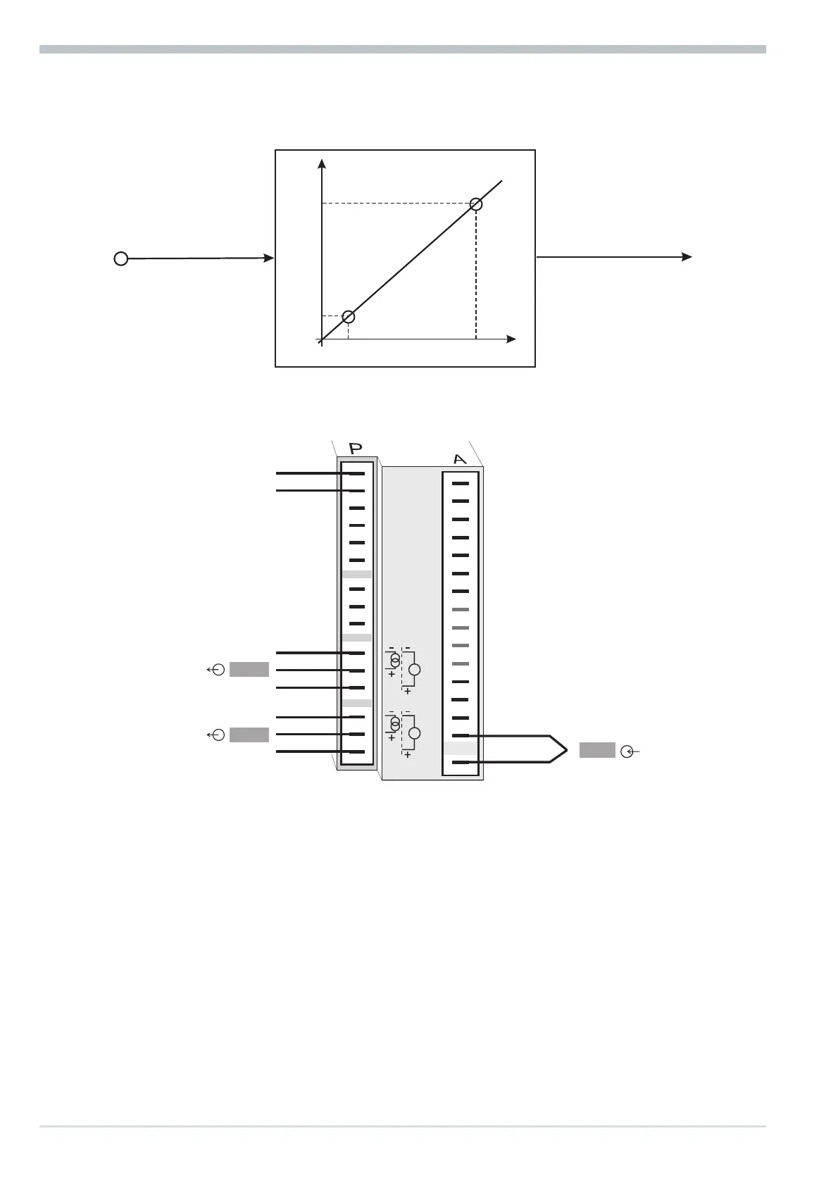
4.5.7 8800 process controller with measured value output
ConF / Out.3 / 4: O.tYP = 1 Out.3/ 4 0...20mA continuous
= 2 Out.3/ 4 4...20mA continuous
= 3 Out.3/ 4 0...10V continuous
= 4 Out.3/ 4 2...10V continuous
Out.0 = -1999...9999 scaling Out.3/ 4
for 0/4mA or 0/2V
Out.1 = -1999...9999 scaling Out.3/ 4
for 20mA or 10V
O.Src = 3 signal source for Out.3/ 4 is
the process value
Configuration level
Configuration examples 58 8800 process controller
phys.
quantity
mA / V
phys. quantity
Out.1
Out.0
0/4mA
0/2V
20mA
10V
1
4
5
6
7
8
9
10
1
2
3
4
5
6
7
8
9
10
11
12
13
14
17
(16)
+
L
N
2
3
}
90...250VAC
24VUC
U
U
11
12
13
14
15
OUT3
OUT4
INP1
15

Table of Contents

Related product manuals