EasyManua.ls Logo

Whirlpool cabrio - Controls and Diagnostics; Control Panel Overviews

Whirlpool cabrio
60 pages
Print Icon
To Next Page IconTo Next Page
To Next Page IconTo Next Page
To Previous Page IconTo Previous Page
To Previous Page IconTo Previous Page
Loading...
PAGE 2
FOR SERVICE TECHNICIAN’S USE ONLY
DO NOT REMOVE OR DESTROY
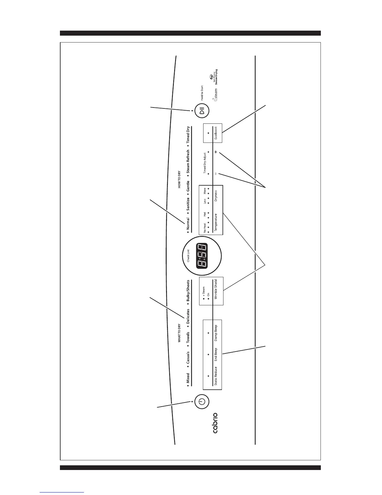
WHIRLPOOL CONTROL PANEL (features and appearances may vary between models)
POWER button: press once to turn off
indicator. Press twice to exit service
diagnostic mode and return to
standby mode.
START/PAUSE button:
press once to turn
off indicator.
Option buttons: press each
button once to turn off
its respective indicator.
Figure 1a - Key Activation & Encoder Test for Service Diagnostic Mode, Whirlpool Models
Press each modifier button
once to turn off its respective
display segment.
Timed Dry Adjust “–” or “+”
button: press once to turn off
its respective indicator.
Option buttons: press each
button once to turn off
its respective indicator.
Pressing each “WHAT TO DRY”
button turns off each
corresponding indicator.
Pressing each “HOW TO DRY”
button turns off each corresponding
indicator. Pressing “Normal” also turns
off the seven-segment display.

Other manuals for Whirlpool cabrio

Related product manuals