EasyManua.ls Logo

Whirlpool cabrio - Tableaus de Commande Whirlpool, Maytag Et Kenmore

Whirlpool cabrio
60 pages
Print Icon
To Next Page IconTo Next Page
To Next Page IconTo Next Page
To Previous Page IconTo Previous Page
To Previous Page IconTo Previous Page
Loading...
POUR LE TECHNICIEN SEULEMENT
PAGE 30
NE PAS ENLEVER NI DÉTRUIRE
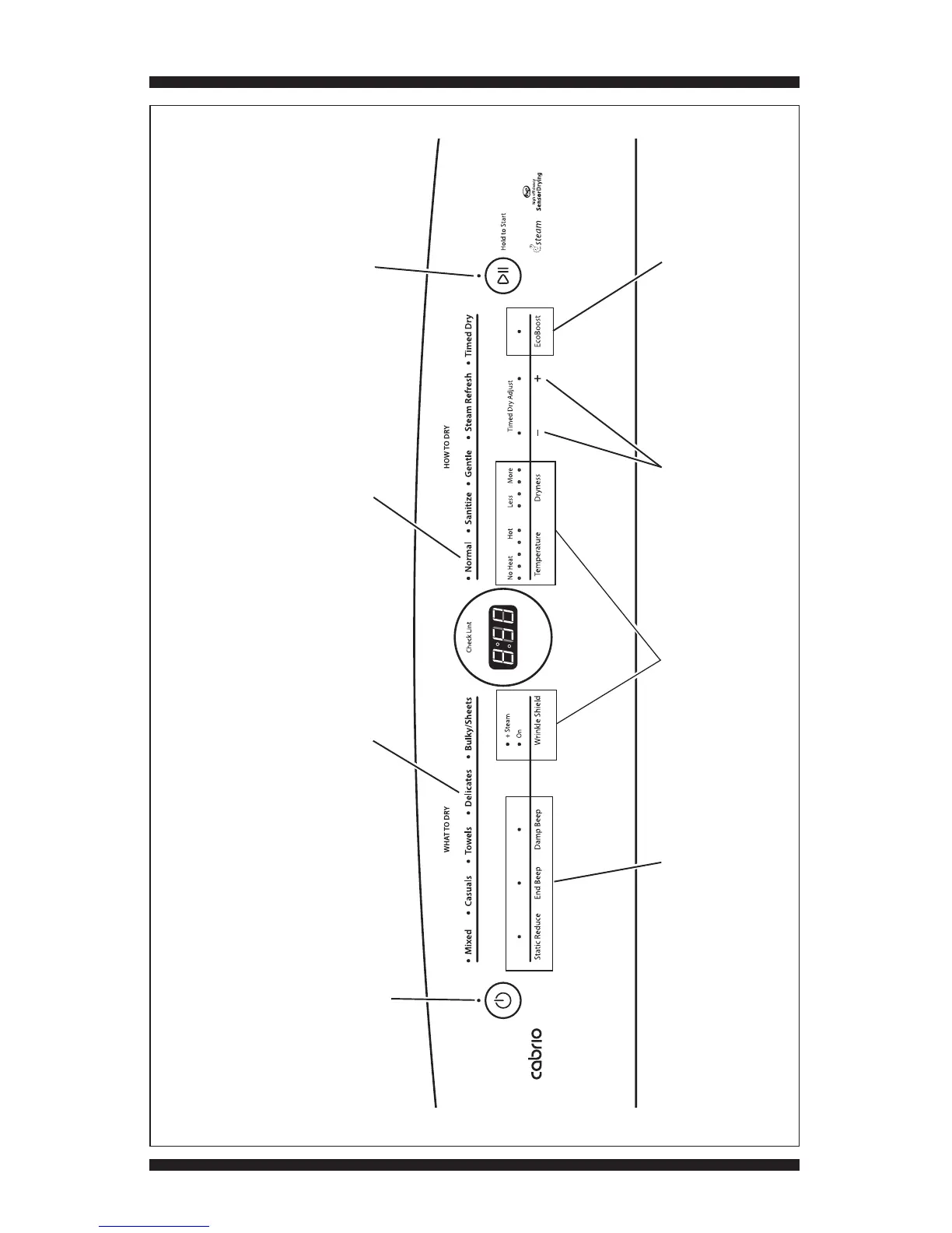
TABLEAU DE COMMANDE WHIRLPOOL (les caractéristiques et l’aspect peuvent varier entre les modèles)
Bouton POWER (mise sous tension) :
appuyer une fois pour éteindre le témoin.
Appuyer deux fois pour quitter le mode
de diagnostic de service et revenir
au mode d’attente.
Bouton START/PAUSE (mise en
marche/pause) : appuyer une
fois pour éteindre le témoin.
Boutons d’option : appuyer
sur chaque bouton une fois
pour éteindre sa témoin.
Figure 1a - Test d’activation des boutons et encodeurs, mode de diagnostic de service, modèles Whirlpool
Appuyer sur chaque bouton
de modification une fois pour
éteindre sa segment
de l’affichage.
Bouton Timed Dry Adjust “–”
ou “+” (ajustement – ou + de
séchage minuté) : appuyer une
fois pour éteindre sa témoin.
Boutons d’option : appuyer
sur chaque bouton une fois
pour éteindre sa témoin.
Appuyer chaque bouton “WHAT
TO DRY” pour éteindre chaque
témoin correspondant.
Appuyer chaque bouton “HOW TO
DRY” pour éteindre chaque témoin
correspondant. Appuyer “Normal” pour
éteindre l’affichage de sept segments.

Other manuals for Whirlpool cabrio

Related product manuals