EasyManua.ls Logo

Whirlpool cabrio - Page 32

Whirlpool cabrio
60 pages
Print Icon
To Next Page IconTo Next Page
To Next Page IconTo Next Page
To Previous Page IconTo Previous Page
To Previous Page IconTo Previous Page
Loading...
POUR LE TECHNICIEN SEULEMENT
PAGE 32
NE PAS ENLEVER NI DÉTRUIRE
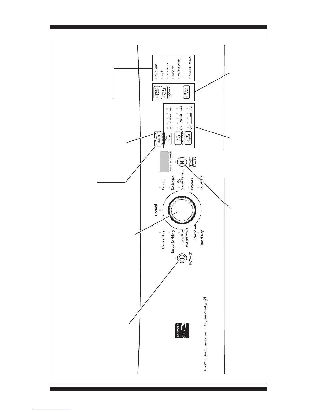
TABLEAU DE COMMANDE KENMORE (les caractéristiques et l’aspect peuvent varier entre les modèles)
La rotation du bouton sélecteur de
programme éteint les témoins DEL
des programmes. (Les caractéristiques
et l’aspect peuvent varier selon
les modèles).
Bouton POWER (mise sous tension) :
appuyer une fois pour éteindre le témoin.
Appuyer deux fois pour quitter le mode
de diagnostic de service et revenir
au mode d’attente.
Bouton START/PAUSE (mise en
marche/pause) : appuyer une
fois pour éteindre le témoin.
Boutons d’option : appuyer
sur chaque bouton une fois
pour éteindre sa témoin.
Figure 1c - Test d’activation des boutons et encodeurs, mode de diagnostic de service, modèles Kenmore
Bouton Time Adjust “+” :
(ajustement + de durée) : appuyer une
fois pour éteindre les témoins d’état.
Appuyer sur chaque bouton
de modification une fois pour
éteindre sa segment
de l’affichage.
Bouton Time Adjust “–” :
(ajustement – de durée) : appuyer
une fois pour éteindre
l’affichage de sept segments.

Other manuals for Whirlpool cabrio

Related product manuals