EasyManua.ls Logo

Winget 4B2000 - Page 41

Winget 4B2000
282 pages
Print Icon
To Next Page IconTo Next Page
To Next Page IconTo Next Page
To Previous Page IconTo Previous Page
To Previous Page IconTo Previous Page
Loading...
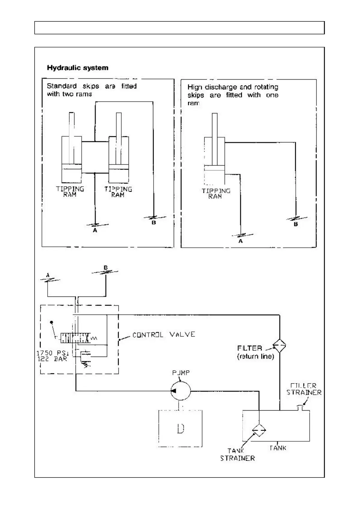
SERVICE 3.15
HYDRAULIC SYSTEM

Related product manuals