EasyManua.ls Logo

Woods Batwing BW15.50E - Page 40

Woods Batwing BW15.50E
178 pages
Print Icon
To Next Page IconTo Next Page
To Next Page IconTo Next Page
To Previous Page IconTo Previous Page
To Previous Page IconTo Previous Page
Loading...
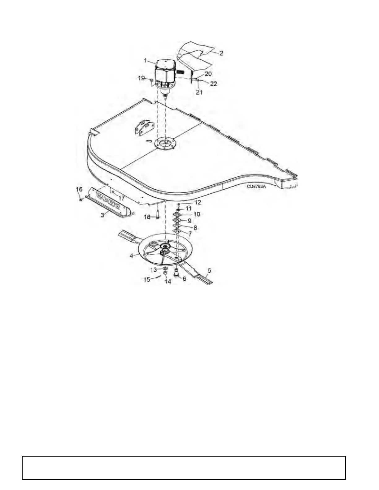
40 .60 Series Parts
MAN1246 (04/10/2018)
WING ASSEMBLY
REF PART QTY DESCRIPTION
1 1045807 1 Gearbox, right wing
(see page 46) -OR-
1 1045805 1 Gearbox, left wing
(see page 46)
2 1046059RP 1 Clutch shield, hinged
3 1044990RP 1 Skid, right wing -OR-
3 1044991RP 1 Skid, left wing
4 1044820RP 1 Crossbar assembly
5 19160KT 1 Blade kit, CCW (right wing) -OR-
5 19161KT 1 Blade kit, CW (left wing)
6 1045034RP 2 1-1/2 blade pin
7 10520RP 2 Shim, 18 GA, 1-1/2 blade pin
8 13946RP 2 Shim, 20 GA, 1-1/2 blade pin
9 1028824RP 2 Spacer, 5/16 thick
10 32603 2 Keyhole plate - special
11 32604RP 2 Blade pin lock clip - special
REF PART QTY DESCRIPTION
12 3379RP * 2 1/2 NC x 1-1/2 HHCS, GR5
13 1045695 1 Washer, 1.22 x 2.205 x .236
14 1045894 1 M30 x 2.0P castle nut
15 6185 * 1 1/4 x 2-1/4 cotter pin
16 1031225 4 1/2 NC x 1-1/4 HFS, GR5
17 11900 * 4 1/2 NC flanged lock nut
18 1043460 6 3/4 NC x 3-1/2 HFS, GR5
19 1045611 6 3/4 NC flanged lock nut
20 1041071 4 M8 - 1.25P x 16 MM HFS, CL8.8
21 603778 2 8 mm screw
22 603779 2 8 mm retainer
* Standard hardware, obtain locally
HHCS Hex head cap screw
HFS Hex flange screw

Table of Contents

Related product manuals