EasyManua.ls Logo

Woods Batwing BW15.50E - Series Models

Woods Batwing BW15.50E
178 pages
Print Icon
To Next Page IconTo Next Page
To Next Page IconTo Next Page
To Previous Page IconTo Previous Page
To Previous Page IconTo Previous Page
Loading...
.60 Series Parts 39
MAN1246 (04/10/2018)
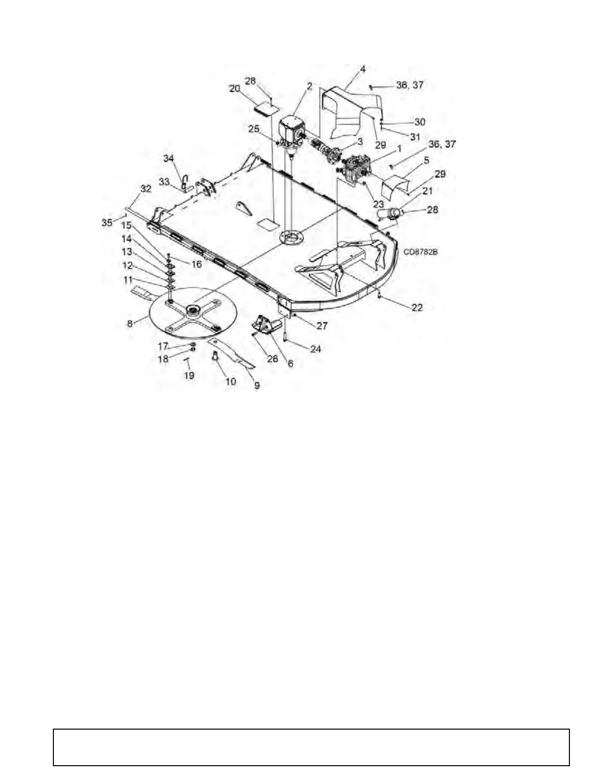
CENTRE FRAME ASSEMBLY
REF PART QTY DESCRIPTION
1 1031185 1 Splitter gearbox - 540 RPM
(see page 43) -OR-
1 1031186 1 Splitter gearbox - 1000 RPM
(see page 43)
2 1045806 1 Gearbox - 540 RPM
(see page 46) -OR-
2 1045804 1 Gearbox - 1000 RPM
(see page 46)
3 1045076 1 Driveline complete, 2400, 1.75-20
6.88 w/clutch
4 1046080RP 1 Splitter gearbox shield
5 1046056RP 1 Input drive shield
6 1044390 1 Front skid, right
7 1044391 1 Front skid, left (not shown)
8 1044815RP 1 Crossbar assembly
9 19160KT 1 Blade kit, CCW
10 1045034RP 2 1-1/2 Blade pin
11 10520RP 2 Shim, 18 GA, 1-1/2 blade pin
12 13946RP 2 Shim, 20 GA, 1-1/2 blade pin
13 1028824RP 2 Spacer, 5/16 thick
14 32603 2 Keyhole plate - special
15 32604RP 2 Blade pin lock clip - special
16 3379RP * 2 1/2 NC x 1-1/2 HHCS, GR5
17 1045695 1 Washer, 1.22 x 2.205 x .236
18 1045894 1 M30 x 2.0P Castle Nut
19 6185 * 1 1/4 x 2-1/4 Cotter pin
20 57050 1 Access hole cover
21 1003828 1 Manual tube
REF PART QTY DESCRIPTION
22 19024 4 5/8 NC x 1-3/4 HFS, GR5
23 19025 * 4 5/8 NC Flanged lock nut
24 1043460 6 3/4 NC x 3-1/2 HFS, GR5
25 1045611 6 3/4 NC Flanged lock nut
26 1028902 8 1/2 NC x 1-3/4 HFS, GR5
27 11900RP * 8 1/2 NC Flanged lock nut
28 N/S * 3 5/16 NC x 1 Hex whiz bolt, GR5
29 1041071 4 M8 - 1.25P x 16 mm HFS, CL8.8
30 1041077 2 .216 x .977 x 3.14 Magnet
31 1041073 2 .188 x .565 Aluminum rivet
32 1043438 2 Hinge Pin
33 1044831 1 Pin Transport Lock
34 52204 1 Lynch pin with chain
35 66016 4 1/4 x 1-1/2 spring pin
36 603778 3 8 mm screw
37 603779 3 8 mm retainer
1045874 Complete decal set
1045875 English safety decal set
605877 French safety decal set
605878 Spanish safety decal set
605879 Italian safety decal set
605880 German safety decal set
N/S
Not Serviced
* Standard Hardware, Obtain Locally
HHCS Hex Head Cap Screw
HFS Hex Flange Screw

Table of Contents

Related product manuals