EasyManua.ls Logo

Yamaha 684CS - Page 137

Yamaha 684CS
497 pages
Print Icon
To Next Page IconTo Next Page
To Next Page IconTo Next Page
To Previous Page IconTo Previous Page
To Previous Page IconTo Previous Page
Loading...
3-26
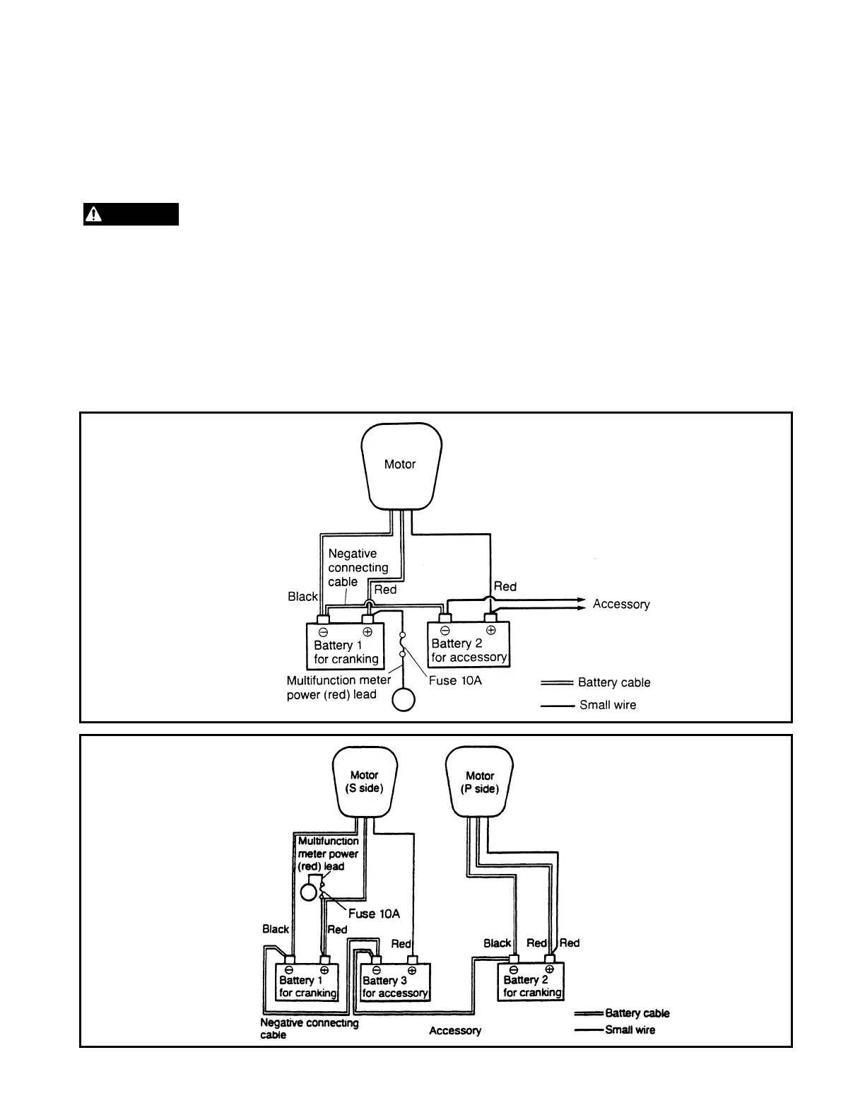
Outboard Rigging Guide - 2001 Battery Installations
Dual Battery Installation
(Recommended Battery Wiring
Without Accessory Battery Switch)
Improper battery connections or wire size
selection may result in a fire.
1. When one battery is used, connect the two red
cables to the (+) terminal. If the smaller red
cables is left unconnected, an accidental con-
tact of the red cable with the (-) terminal of
the battery will form a short circuit and may
cause a fire.
2. When using an accessory battery, a negative
connecting cable must be installed between
the accessory battery and the main battery.
This cable must be equivalent to the main
battery cable.
WARNING

Table of Contents

Related product manuals