EasyManua.ls Logo

Yamaha 684CS - Page 72

Yamaha 684CS
497 pages
Print Icon
To Next Page IconTo Next Page
To Next Page IconTo Next Page
To Previous Page IconTo Previous Page
To Previous Page IconTo Previous Page
Loading...
2-9
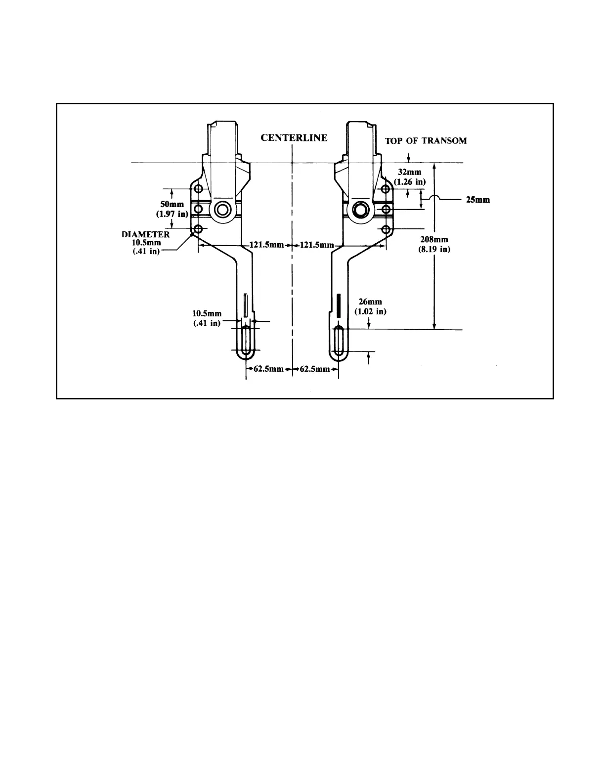
Outboard Rigging Guide - 2001 Transom Mounting Patterns
25X3 (3-Cyl.) 30HP, 40HP (Manual Tilt)

Table of Contents

Related product manuals