EasyManua.ls Logo

Yamaha DG-Stomp - IC Block Diagram

Yamaha DG-Stomp
42 pages
Print Icon
To Next Page IconTo Next Page
To Next Page IconTo Next Page
To Previous Page IconTo Previous Page
To Previous Page IconTo Previous Page
Loading...
DG-Stomp
18
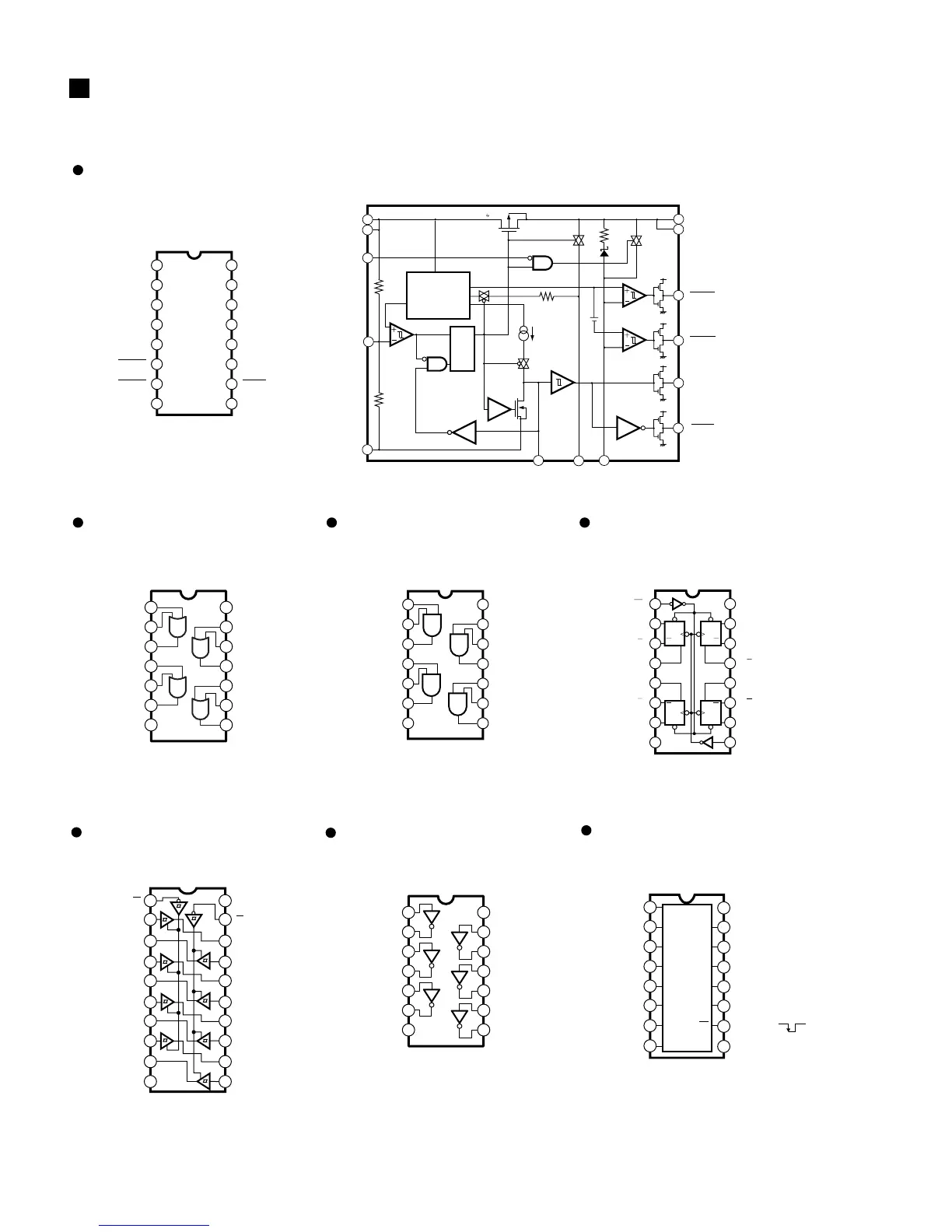
IC BLOCK DIAGRAM
MB3790PF(XR967A00)
DM: IC4
ASSP
2
3
4
5
6
7
8
9
10
11
12
16
14
13
C
T
V
BAT2
V
BAT1
ALARM2
RESET
RESET
ALARM1
V
OUT
V
OUT
V
IN
V
IN
V
SENSE
CONTROL
GND
590k
240k
1.24V
Reference
Voltage
Power Supply
Circuit
S
Q
R
100
SBD
2.65V
2.37V
500
V
IN
V
IN
V
OUT
V
OUT
3µA
V th:3V
V th:1.5V
11A
2
3
4
5
6
7
1B
1Y
2A
2B
2Y
GND
8
9
10
11
12
13
14
V
CC
4B
4A
4Y
3B
3A
3Y
74AHC32DT
(
XZ103A00
)
DM: IC5, IC6
OR
74HC08DT(XZ108A00)
DM: IC7
AND
74HC244DT(XZ109A00)
DM: IC14, IC15, IC16
Bus Buffer
1
2
3
4
5
6
7
13
12
11
10
9
8
141A
1B
1Y
2Y
2A
2B
Vss
VDD
4B
4A
4Y
3Y
3A
3B
74HC175DT(XZ113A00)
DM: IC110
Quad D-Type Flip-Flop
1G
1A1
2Y4
1A2
2Y3
1A3
2Y2
1A4
2Y1
1 20
2 19
3 18
4 17
5 16
6 15
7 14
8 13
9 12
10 11
VDD(Vcc)
2G
1Y1
2A4
1Y2
2A3
1Y3
2A2
1Y4
2A1 (GND)Vss
1
2
3
4
5
6
7
15
14
13
12
11
10
16CL
1Q
1Q
1D
2D
2Q
2Q
VDD
4Q
4Q
4Q
3D
3Q
3Q
8 9Vss CK
Q
Q D
CK
CL
D Q
CK
C LQ
Q
CK CK
CL QCL
Q
D
Q
D
1
2
3
4
5
6
7
15
14
13
12
11
10
16
N.C.
V
BAT1
V
OUT
V
OUT
V
BAT2
ALARM1
ALARM1
CONTROL
N.C.
V
IN
V
IN
V
SENSE
C
T
RESET
8 9
GND RESET
TC74HC4040F
(
XR684A00
)
DM: IC108
12-Stage Binary Ripple Counter
CK
1
2
3
4
5
6
7
Q12
Q12
Q6
Q6
Q5
Q5
Q7
Q7
Q4
Q4
Q3
Q3
Q2
Q2
16
15
14
13
12
11
10
VDD
Q11
Q11
Q10
Q10
Q8
Q8
Q9
Q9
CLR
CL
8
Vss
9
Q1
Q1
Input Pulses ( )
74HCU04DT (XZ110A00)
DM: IC107
INVERTER
11A
2
3
4
5
6
7
1Y
2A
2Y
3A
3Y
V
SS
8
9
10
11
12
13
14
V
DD
6A
6Y
5A
5Y
4A
4Y
R
CN
0.5

Other manuals for Yamaha DG-Stomp

Related product manuals